QBY鑄鐵氣動隔膜泵
QBY氣動隔膜泵是一種新型輸送機械,是目前國內新穎的一種泵類。采用壓縮空氣為動力源,對于各種腐蝕性液體,帶顆粒的液體,高粘度、易揮發、易燃、劇毒的液體,均能予以抽光吸盡。其性能參數與聯邦德國的 WLLDENPVMPS、美國的MARIOWPUMPS相近.本廠目前已形成系列化生 產,共有八種規格直徑:¢10mm(3/8")、¢15mm(1/2")、¢25mm(1")、¢40mm(11/2")、¢50mm(2")、¢65mm(21/2")、¢80mm(3")、¢100mm(4")。四種材質、鋁合金、鑄鐵、工程塑料、不銹鋼。根據不同液體介質分別采用丁晴橡膠、氯丁橡膠、氟橡膠、聚四氟乙烯。以滿足不同用戶的需要。自1986年投產以來,已被國內一千多家石油、化工、電子、陶紡織系統單位采用,安置在種特殊場合,用來抽送各種常規泵不能抽吸的介質,均取的了滿意的效果。
QBY氣動隔膜泵主要特點
1、不需灌引水,吸程高達7m,揚程達50m,出口壓力≥6kgf/cm2;
2、流動寬敞,通過性能好,允許通過大顆粒直徑達10mm。抽送泥漿、雜質時,對泵磨損甚微;3、揚程、流量可通過氣閥開度實現無級調節(氣壓調節在1-7kgf/cm2之間);
4、該泵無旋轉部件,沒有軸封,隔膜將抽送的介質與泵的運動部件、工作介質完全隔開,所輸送的介質不會向外泄漏。所以抽送有毒、易發揮或腐蝕性介質時,不會造成環境污染和危害人身安全;
5、不必用電,在易燃、易爆場所使用安全可靠;
6、可以浸沒在介質中工作;
7、作用方便、工作可靠、開停只需簡單地打開和關閉氣體閥門,即使由于意外情況而長時間無介質運行或突然停機,泵也不會因此而損壞,不旦超負荷,泵會自動地停機,具有自我保護性能,當負荷恢復正常后,又有自動啟動運行;
8、結構簡單、易損件少,該泵結構簡單,安裝、維修方便,泵輸送的介質不會接觸到配氣閥,聯桿等運動部件,不象其他類型的泵因轉子、活塞、齒輪、葉片等部件的磨損而使性能逐步下降;
9、可輸送較粘的液體(粘度在1萬厘泊以下);
10、無須用油潤滑,即使空轉,對泵也無任何影響,這是該泵一大特點。
QBY氣動隔膜泵主要用途
1、泵吸花生醬、泡菜、土豆泥、小紅腸、果醬蘋果漿、巧克力等。2、泵吸油漆、樹膠、顏料。
3、粘合劑和膠水、全部種類可用泵吸取。
4、各種瓦、瓷、磚器及陶器釉漿。
5、油井鉆好后,用泵吸沉積物及灌漿。
6、泵吸各種乳劑和填料。
7、泵吸各種污水。
8、用泵為油輪,駁船清倉吸取倉內污水。
9、啤酒花及發酵粉稀漿、糖漿、糖密。
10、泵吸礦井、坑道、隧道、選礦、礦渣中的積水。泵吸水泥灌漿及灰漿。
11、各種橡膠漿。
12、各種磨料、腐蝕劑、石油及泥漿、清洗油垢及一般容器。
13、各種劇毒、易燃、易揮發液體。
14、各種強酸、強堿、強腐蝕液體。
15、各種高溫液體高可耐150℃。
16、作為各種固液體分離設備的前級送壓裝置。
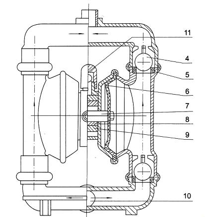
QBY氣動隔膜泵結構簡圖
1 進氣口 2 配氣閥體 3 配氣閥 4 圓球 5 球座 6 隔膜 7 連桿 8 連桿銅套 9 中間支架 10 泵進口 11 排氣口
QBY氣動隔膜泵性能參數表
|
型號
Model 1 |
流量
Dischage (m3/h) |
揚程
Head (m) |
出口壓力
Exit Pressure (kgf/cm2) |
吸程
Sucked lift (m) |
大允許顆粒直粒
Max grain D |
大供氣壓力
Max Pressure (kgf/cm2) |
大空氣
消耗量 Max air consumption (m3/min) |
材 料 Materials
|
|||
|
鋁
ZL104 |
不銹鋼
1Cr18Ni9Ti |
鑄鐵
HT200 |
增強
聚丙烯 Enhanced Polypropy lene |
||||||||
|
QBY-10
|
0~0.8
|
0~50
|
6
|
5
|
1
|
7
|
0.6
|
★
|
★
|
★
|
★
|
|
QBY-15
|
0~1
|
0~50
|
6
|
5
|
1
|
7
|
0.3
|
★
|
★
|
★
|
★
|
|
QBY-25
|
0~2.4
|
0~50
|
6
|
7
|
2.5
|
7
|
0.6
|
★
|
★
|
★
|
★
|
|
QBY-40
|
0~8
|
0~50
|
6
|
7
|
4.5
|
7
|
0.6
|
★
|
★
|
★
|
★
|
|
QBY-50
|
0~12
|
0~50
|
6
|
7
|
8
|
7
|
0.9
|
★
|
★
|
★
|
/
|
|
QBY-65
|
0~16
|
0~50
|
6
|
7
|
8
|
7
|
0.9
|
★
|
★
|
★
|
/
|
|
QBY-80
|
0~24
|
0~50
|
6
|
7
|
10
|
7
|
1.5
|
★
|
★
|
★
|
/
|
|
QBY-100
|
0~30
|
0~50
|
6
|
7
|
10
|
7
|
1.5
|
★
|
★
|
★
|
/
|
Note:★-有 have /-無 without
工作原理
在泵的兩個對稱工作腔中,各裝有一塊有彈性的隔膜6,聯桿將兩塊隔膜結成一體,壓縮空氣從泵的進氣接頭1進入配氣閥 3后,推動兩個工作腔內的隔膜,驅使聯桿聯接的兩塊隔膜同步運動。與此同時,另一工作腔中的氣體則從隔膜的背后排出泵外。一旦到達行程終點。配氣機構則自動地將壓縮空氣引入另一個工作腔,推動隔膜朝相反方向運動,這樣就形成了兩個隔膜的同步往復運動。每個工作腔中設置有兩個單向球閥4,隔膜的往復運動,造成工作腔內容積的改變,迫使兩個單向球閥交替地開啟和關閉,從而將液體連續地吸入和排出。
訂貨須知:
一、①鑄鐵氣動隔膜泵產品名稱與型號②鑄鐵氣動隔膜泵口徑③鑄鐵氣動隔膜泵揚程(m)④鑄鐵氣動隔膜泵流量⑤鑄鐵氣動隔膜泵電機功率(KW)⑥鑄鐵氣動隔膜泵轉速(r/min)⑦鑄鐵氣動隔膜泵電壓〔V〕⑧鑄鐵氣動隔膜泵吸程(m)⑨鑄鐵氣動隔膜泵是否帶附件以便我們的為您正確選型。
二、若已經由設計單位選定我公司的鑄鐵氣動隔膜泵產品型號,請按鑄鐵氣動隔膜泵型號直接向揚子江泵業公司銷售部訂購。
三、當使用的場合非常重要或環境比較復雜時,請您盡量提供設計圖紙和詳細參數,由我們揚子江泵業的技術專家為您審核把關。
感謝您訪問我們揚子江泵業的網站【m.ixunmeng.cn】,如有任何疑問.您可以致電給我們,我們一定會盡心盡力為您提供優質的服務。
隔膜泵,氣動隔膜泵,電動隔膜泵,微型隔膜泵,qby氣動隔膜泵,不銹鋼氣動隔膜泵,塑料氣動隔膜泵,DBY電動隔膜泵,鋁合金氣動隔膜泵





