G型麥芽糖漿泵選用衛生型112型機械密封
時間:2014-1-6 來源:揚子江泵業 瀏覽數:841
G型麥芽糖漿泵因橡膠桶選用多種彈性材料制成,所以這種G型單螺桿泵可以輸送粘度達到80%流體的輸送和含有硬質懸浮顆粒介質或含有纖維介質的輸送,有一般泵種所不能勝任的特性。其流量與轉速成正比,G型單螺桿泵結構緊湊,體積小,維修簡便。對介質的適應性強,流量平穩,壓力脈動小,自吸能力高。工作溫度可達120℃,如果需輸送120℃-350℃高溫介質,可定做。廣泛用于食品、冶金、造紙、印染、化工、化肥、制藥等工業部門。
G型單螺桿泵型號意義:

G型麥芽糖漿泵安裝簡圖:

因定子選用多種彈性材料制成,所以這種泵對高粘度流體的輸送和含有硬質懸浮顆粒介質或含有纖維介質的輸送,有一般泵種所不能勝任的特性。其流量與轉速成正比。
G型單螺桿泵結構緊湊,體積小,維修簡便。對介質的適應性強,流量平穩,壓力脈動小,自吸能力高。工作溫度可達120℃,如果需輸送120℃-350℃高溫介質,可定做。廣泛用于食品、冶金、造紙、印染、化工、化肥、制藥等工業部門。
G型麥芽糖漿泵使用范圍:
G型單螺桿泵廣泛使用于醫藥、石油工業、環境保護、食品工業、釀造工業、印刷工業、工業鍋爐、建筑、采礦、化工行業等:
G型單螺桿泵可以使用于各種介質如以下幾種:
如粘稠漿、乳化液、工業污水、生活污水、含有固體顆粒及短纖維的污泥濁水的輸送、油水、油渣、油污水、各種發酵粘稠淀粉、食油、蜂蜜、糖漿、果漿、奶油、各種發酵粘稠液、濃酒糟、糧食制品渣、各種醬類、漿類和含有快狀固體物的粘液等; 高粘度油墨、墻紙的PVC高分子塑料糊和各種濃度的紙漿、短纖維漿料、電廠、水煤漿的輸送。水泥沙漿、石灰漿、涂料、礦井內的含固體顆粒的地下水和污漿水、懸浮液、油脂、各種膠體漿、各種粘合劑等
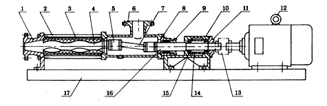
G型麥芽糖漿泵結構圖:

|
1 出料腔 |
2 拉桿 |
3 螺桿膠套 |
4 螺桿軸 |
5 萬向節總成 |
6 吸入口體 |
|
7 連節軸 |
8 填料器 |
9 填料壓蓋 |
10 軸承座 |
11 軸承蓋 |
12 電機 |
|
13 連軸器 |
14 軸套 |
15 軸承 |
16 傳動主軸 |
17 底座 |
|
G型麥芽糖漿泵性能參數:
|
型號 |
轉速 |
流量 |
壓力 |
電機 |
揚程 |
進口 |
出口 |
|
G20-1 |
960 |
0.8 |
0.6 |
0.75 |
60 |
25 |
25 |
|
G25-1 |
960 |
2 |
0.6 |
1.5 |
60 |
40 |
32 |
|
G25-2 |
960 |
2 |
1.2 |
2.2 |
120 |
40 |
32 |
|
G30-1 |
960 |
5 |
0.6 |
2.2 |
60 |
50 |
40 |
|
G30-2 |
960 |
5 |
1.2 |
3.0 |
120 |
50 |
40 |
|
G35-1 |
960 |
8 |
0.6 |
3.0 |
60 |
65 |
50 |
|
G35-2 |
960 |
8 |
1.2 |
4.0 |
120 |
65 |
50 |
|
G40-1 |
960 |
12 |
0.6 |
4.0 |
60 |
80 |
65 |
|
G40-2 |
960 |
12 |
1.2 |
5.5 |
120 |
80 |
65 |
|
G50-1 |
960 |
20 |
0.6 |
5.5 |
60 |
100 |
80 |
|
G50-2 |
960 |
20 |
1.2 |
7.5 |
120 |
100 |
80 |
|
G60-1 |
960 |
30 |
0.6 |
11 |
60 |
125 |
100 |
|
G60-2 |
960 |
30 |
1.2 |
15 |
120 |
125 |
100 |
|
G70-1 |
960 |
45 |
0.6 |
15 |
60 |
150 |
125 |
感謝您訪問我們揚子江泵業的網站m.ixunmeng.cn,如有任何水泵疑問我們一定會盡心盡力為您提供優質的服務。
