你的位置:網站首頁 >> 閥門知識 >> QW潛水排污泵耦合裝置尺寸圖
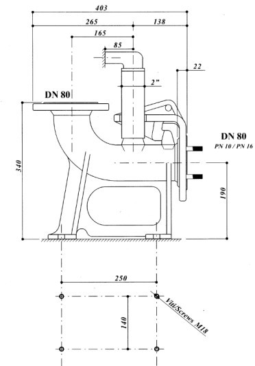
QW潛水排污泵耦合裝置尺寸圖
時間:2013-5-26 來源:揚子江泵業 瀏覽數:2029
一種潛水電泵出水法蘭與出水管路系統自動對接的自動耦合裝置,由潛水電泵出水法蘭、附加耦合法蘭和出水管座進口法蘭組成,在附加耦合法蘭和出水管座進口法蘭的兩側各有一對楔卡且楔點的位置在法蘭的水平中心線附近。當潛水電泵從水坑上方降落時,附加耦合法蘭兩側的楔卡和出水管座進口法蘭兩側的楔卡就卡到一起,在潛水電泵自重和楔卡斜面的作用下,兩個法蘭面緊緊地貼在一起,就好比兩個法蘭的兩側用兩個螺栓上緊了一樣,潛水電泵的水壓再大也不能推開法蘭面而大量漏水。當潛水電泵從水坑內往上提起來時,兩對楔卡能夠沿斜面方便的脫開,從而實現自動耦合裝置的功能。它可以在方便潛水電泵自動裝拆的同時,解決耦合的兩個法蘭之間大量漏水的問題,從而節約能源。
QW潛水排污泵耦合裝置尺寸圖
QW潛水排污泵耦合裝置的組成:
排污泵耦合裝置的自動耦合裝置,包括耦合器、耦合法蘭、導桿、上固定板,在耦合底座與耦合滑板的接觸面上開有環形凹槽,凹槽上緊密固定有軟密封墊。采用上述結構,使耦合滑板和耦合底座的耦合接觸面被環形密封凹槽密封牢固.
排污泵耦合裝置自動耦合裝置一般根據使用環境的不同,我公司開發了鑄鐵型潛水排污泵自動耦合裝置和不銹鋼型潛水排污泵自動耦合裝置。自動耦合裝置導軌也可以定做成焊管、不縫鋼管、不銹鋼管。起吊時如需用到導鏈也可定制鋼制導鏈與不銹鋼導鏈。
QW潛水排污泵耦合裝置參數表
QW
| 名稱 | 型號 | 口徑(mm) |
| QW排污泵耦合裝置 | GAK-25 | 25 |
| QW排污泵耦合裝置 | GAK-32 | 32 |
| QW排污泵耦合裝置 | GAK-40 | 40 |
| QW排污泵耦合裝置 | GAK-50 | 50 |
| QW排污泵耦合裝置 | GAK-65 | 65 |
| QW排污泵耦合裝置 | GAK-80 | 80 |
| QW排污泵耦合裝置 | GAK-100 | 100 |
| QW排污泵耦合裝置 | GAK-125 | 125 |
| QW排污泵耦合裝置 | GAK-150 | 150 |
| QW排污泵耦合裝置 | GAK-200 | 200 |
| QW排污泵耦合裝置 | GAK-250 | 250 |
| QW排污泵耦合裝置 | GAK-300 | 300 |
| QW排污泵耦合裝置 | GAK-350 | 350 |
| QW排污泵耦合裝置 | GAK-400 | 400 |
| QW排污泵耦合裝置 | GAK-500 | 500 |
| QW排污泵耦合裝置 | GAK-600 | 600 |
感謝您訪問我們揚子江泵業的網站m.ixunmeng.cn,如有任何水泵疑問我們一定會盡心盡力為您提供優質的服務.
- 下一篇:S、SH-25、38型手搖泵結構示意圖
- 上一篇:污水泵葉輪結構形式





