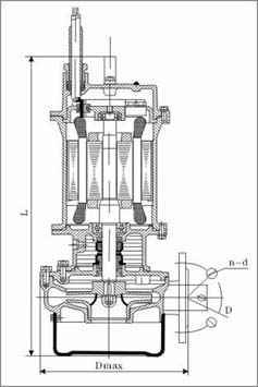
QDXF/QXF全不銹鋼噴泉泵,不銹鋼單相潛水泵產品結構圖
時間:2013-4-16 來源:揚子江泵業 瀏覽數:1530
QDXF/QXF系列不銹鋼潛水電泵,是我公司自行研制開發的一種過流部件及外部零件材質均采用不銹鋼材料制成的潛水電泵,產品規格齊全,外形美觀、安裝方便,對水源無污染、綠色環保、既能適用于腐蝕性介質的輸送,又能滿足花樣噴泉對水泵的頻繁啟動及變頻運行等要求。
產品特點:
該產品過流部件及外部零件材質均采用不銹鋼(304、316、304L、316L)精鑄而成。耐一般性腐蝕,抗點蝕能力強。泵出水口采用圓形法蘭結構, 電機為F級絕緣,葉輪具有防松裝置,不怕反轉。采用下吸式結構,泵在電機下端。機械密封采用碳化鎢或碳化硅等材質,經久耐用、安全可靠。
產品用途:
1、適用于各種音樂噴泉的配套使用。
2、適用于輸送其他輕微腐蝕性介質。
3、適用于礦山、海水及含腐蝕性液體的排放。
使用條件:
1、電泵必須在額定揚程110%~80%的范圍內使用。
2、輸送介質的溫度不超過40℃,PH值為2~12。
3、水中含砂量或含不溶于水固體顆粒體積比不超過0.1%,粒度不大于0.2毫米。
4、一般常溫清水;如:井水、河水、湖水等。
5、含腐蝕性液體;如:礦山煤水、海水及化學合成液體等。
6、電泵啟動頻繁次數應符合相關要求。
型號說明:

產品結構圖:

性能曲線:

技術參數:
|
產品型號
|
流量
(m³/h) |
揚程(m)
|
功率(kW)
|
電壓(V)
|
口徑(mm)
|
|
QDX1.5-17-0.37S
|
1.5
|
17
|
0.37
|
220
|
25
|
|
QDX3-18-0.55S
|
3
|
18
|
0.55
|
220
|
25
|
|
QDX10-12-0.55S
|
10
|
12
|
0.55
|
220
|
50
|
|
QDX1.5-32-0.75S
|
1.5
|
32
|
0.75
|
220
|
25
|
|
QDX3-25-0.75S
|
3
|
25
|
0.75
|
220
|
25
|
|
QDX10-16-0.75S
|
10
|
16
|
0.75
|
220
|
50
|
|
QDX30-7-1.1S
|
30
|
7
|
1.1
|
220
|
80
|
|
QDX40-6-1.5S
|
40
|
6
|
1.5
|
220
|
80
|
|
QX1.5-17-0.37S
|
1.5
|
17
|
0.37
|
380
|
25
|
|
QX3-18-0.55S
|
3
|
18
|
0.55
|
380
|
25
|
|
QX10-12-0.55S
|
10
|
12
|
0.55
|
380
|
50
|
|
QX1.5-32-0.75S
|
1.5
|
32
|
0.75
|
380
|
25
|
|
QX3-25-0.75S
|
3
|
25
|
0.75
|
380
|
25
|
|
QX10-16-0.75S
|
10
|
16
|
0.75
|
380
|
50
|
|
QX30-7-1.1S
|
30
|
7
|
1.1
|
380
|
80
|
|
QX40-6-1.5S
|
40
|
6
|
1.5
|
380
|
80
|
感謝您訪問我們揚子江泵業的網站m.ixunmeng.cn,如有任何水泵疑問我們一定會盡心盡力為您提供優質的服務.
- 下一篇:QS型充水式潛水泵結構簡圖
- 上一篇:深井潛水泵選用自耦降壓啟動控制柜





