SZ型水環式真空泵的安裝尺寸圖及安裝說明
時間:2013-2-21 來源:揚子江泵業 瀏覽數:2837
|
一、SZ型水環式真空泵的概述: |
||||||||||||||||||||||||||||||||||||||||||||||||||||||||||||
二、SZ型水環式真空泵的型號意義:![]() |
||||||||||||||||||||||||||||||||||||||||||||||||||||||||||||
| 三、SZ型水環式真空泵的性能參數表: | ||||||||||||||||||||||||||||||||||||||||||||||||||||||||||||
|
||||||||||||||||||||||||||||||||||||||||||||||||||||||||||||
四、SZ型水環式真空泵的工作原理: 如圖一所示,葉輪①偏心地裝在SZ型水環式真空泵體②內,起動時向泵內注入一定高度的水, 因此當葉片輪旋轉時,水受離心力的作用而在SZ真空泵壁上形成-旋轉水環③,水環上部內表面與輪轂相切,沿箭頭主向旋轉,在前半轉的過程中,水環內表面逐漸與輪轂脫離,因此在葉輪葉片間形成空間并逐漸擴大,這樣就在吸氣口吸入空氣;在后半轉的過程中,水環的內表面漸漸與輪轂靠近,葉片間的空間容積隨著縮小,葉片間的空氣因此被壓縮而排出。 如此SZ型水環式真空泵葉輪每轉動一周,葉片間的空間容積改變一次,每個葉片間的水好像活塞一樣往復一次,SZ型水環式真空泵就連續不斷地抽吸氣體。 由于在工作中,水會發熱,同時一部分水會和氣體一起被排走,因此SZ型水環式真空泵在工作中,泵中必須不斷地供給冷水,以冷卻和補充泵內消耗的水。供給的冷水以15℃為宜。 當SZ型水環式真空泵排出的氣體是廢氣時候,在排氣一端接有一水箱,廢氣和所帶的一部分水排入水箱后,氣體再由水箱的出管跑掉,而水就落入水箱的底部經回水管再回到泵內使用,如果循環時間長了便會發熱,這時需從水箱的供水處供給一定的冷水。 當壓縮機用時則在排氣一端要接上一氣水分離器,帶水的氣體進入分離器時便自動分開,氣體山分離器的出口送到需要的地方去,而熱水則經過自動的開關放出。(壓縮氣體時容易發熱,水由SZ型水環式真空泵處出來后便成了熱水),在分防離器的底部也要不斷地供給冷水補充被放走的熱水,同時起冷卻作用。 |
||||||||||||||||||||||||||||||||||||||||||||||||||||||||||||
圖一:SZ型水環式真空泵工作原理說明圖 |
||||||||||||||||||||||||||||||||||||||||||||||||||||||||||||
|
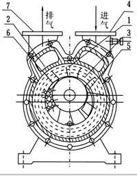
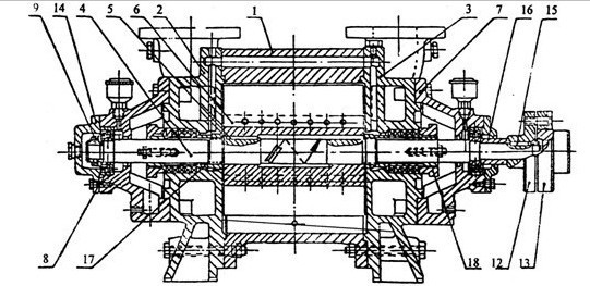
五、SZ型水環式真空泵的結構介紹: SZ型水環式真空泵的結構如圖二、圖三所示: |
||||||||||||||||||||||||||||||||||||||||||||||||||||||||||||
![]() 圖二:SZ型水環式真空泵的結構(1) |
||||||||||||||||||||||||||||||||||||||||||||||||||||||||||||
|
||||||||||||||||||||||||||||||||||||||||||||||||||||||||||||
| SZ型水環式真空泵填料函配備在示兩側蓋(2)(3)內,在填料后面,有一個水室,水由管子(11)進入此室,一部分水通過填料冷卻填料函,另一部分進入泵體,在離心力的作用下沿葉片端面流動而充滿于整個葉輪和側蓋之間。 滾珠軸承(8)用圓螺母(9)固定在軸上。 在SZ型水環式真空泵側蓋側壁上(圖2)排氣孔(g)下面有幾行圓孔(e)有橡皮閥(球形)關閉,這些孔的得作用是當時輪葉片間的氣體壓力達到排氣壓力時,在排氣口以前就將氣體自動放出,因此就減少了因氣體壓力過大而消耗的功率。 SZ-1及SZ-2的結構圖(圖3)所示,其與SZ-3及SZ-4結構(圖4)不同之處是:進、排氣管分別在兩個側蓋上,一根管與進氣口相通,一根管與排氣口相通,泵內無橡皮閥。 進氣管(10)與氣水分離器聯在一起供給泵所需要的循環水,為了使SZ型水環式真空泵泵腔的兩端面間隙和填料得到很好的密封,必須由水封管(11)不斷地供給干凈的冷水。在聯軸器端為了不使軸承內油外漏,因此裝有毛氈圈(20)來密封。 |
||||||||||||||||||||||||||||||||||||||||||||||||||||||||||||
![]() 圖三:SZ型水環式真空泵的結構(2) |
||||||||||||||||||||||||||||||||||||||||||||||||||||||||||||
|
||||||||||||||||||||||||||||||||||||||||||||||||||||||||||||
| 六、SZ型水環式真空泵的安裝尺寸圖: | ||||||||||||||||||||||||||||||||||||||||||||||||||||||||||||
①圖四:SZ-1水環式真空泵安裝尺寸圖![]() |
||||||||||||||||||||||||||||||||||||||||||||||||||||||||||||
②圖五:SZ-2水環式真空泵安裝尺寸圖![]() |
||||||||||||||||||||||||||||||||||||||||||||||||||||||||||||
③圖六:SZ-3水環式真空泵安裝尺寸圖![]() |
||||||||||||||||||||||||||||||||||||||||||||||||||||||||||||
④圖七:SZ-4水環式真空泵安裝尺寸圖![]() |
||||||||||||||||||||||||||||||||||||||||||||||||||||||||||||
|
七、SZ型水環式真空泵使用說明: 2、SZ型水環式真空泵氣水分離器的安裝: |
||||||||||||||||||||||||||||||||||||||||||||||||||||||||||||
![]() 圖八:校正同心度的方法 |
||||||||||||||||||||||||||||||||||||||||||||||||||||||||||||
|
帶有閥的管子(5)與泵及氣水分離器相聯結,由此將分離器中的水放回到SZ型水環式真空泵內。分離器與供水管相連(圖中未畫出),供水管上裝有球形閥。供水管還和填料函的供水管(11)相連(圖一)。 3、SZ型水環式真空泵與氣水分離器間的管路安裝: 4、SZ型水環式真空泵調節機構: 九、SZ型水環式真空泵起動與停車: (1)SZ型水環式真空泵起動: 十、SZ型水環式真空泵拆卸與裝配: 1.SZ型水環式真空泵拆卸 十一、SZ型水環式真空泵維護: 1.應定期的壓緊SZ型水環式真空泵填料,如填料因磨損而不能保證所需要的密封性時,應換新填料,填料不能壓的過緊,正常壓緊的填料允許水成滴漏出,其量不得太多,應用油浸的石棉繩作填料。 |
||||||||||||||||||||||||||||||||||||||||||||||||||||||||||||
感謝您訪問我們揚子江泵業的網站m.ixunmeng.cn,如有任何水泵疑問我們一定會盡心盡力為您提供優質的服務.















