QJ型深井潛水泵結構說明圖
時間:2012-12-11 來源:揚子江泵業 瀏覽數:6152
一、QJ型深井潛水泵產品概述
QJ型深井潛水泵是由QJ型潛水泵和潛水電機組成一體潛入水下進行工作。具有結構簡單、體積小、重量輕、安裝、維修方便,運行安全、可靠、高效節能等特點。它適用于從深井撮地下水、也可用 于河流、水庫、水渠等到提水工程:主要用于農田灌溉及高原山區的人畜用水,亦可供城市、工廠、鐵路、礦山、工地供排水使用。
二、QJ型深井潛水泵產品特點
1、電機、水泵一體、潛入水中運行,安全可靠。
2、對井管、揚水管無特殊要求(即:鋼管井、灰管井、土井等均可使用;在壓力許可下、鋼管、膠管、塑料管等均可作揚水管使用。
3、安裝、使用、維護方便簡單占地面積小、不需要造泵房。
4、結構簡單,節省原材料。
5、潛水電泵使用的條件是否合適,管理得當與使用壽命有直接的關系。
三、QJ型深井潛水泵結構說明
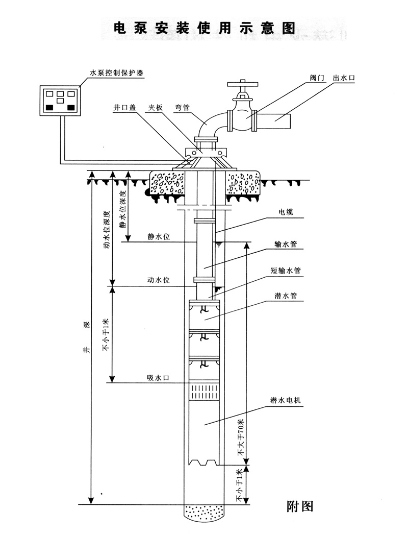
1、QJ型深井潛水泵由:水泵、潛水電機(包括電纜)、輸水管和控制開關四大部分組成。潛水泵為單吸多級立式離心泵:潛水電機為密閉充水濕式、立式三相籠異步電動機,電機與水泵通過爪式或單健筒式聯軸器直接;配備有不同規格的三芯電纜;起動設備為不同容量等級的空氣開關和自偶減壓起動器、輸水管為不同直徑的鋼管制成、采用法蘭聯接,高揚程式電泵采用閘閥控制。
2、潛水泵每級導流殼中裝有一個橡膠軸承;葉輪用錐形套固定在泵軸上;導流殼采用螺紋或螺栓聯成一體。
3、高揚程潛水泵上部裝有止回閥,避免停機水垂造成機組破壞。
4、潛水電機軸上部裝有迷宮式防砂器和兩個反向裝配的骨架油封,防止流砂進入電機。
5、潛水電機采用水潤滑軸承,下部裝有橡膠調壓膜、調壓彈簧,組成調壓室,調節由于溫度引起的 壓力變化;電機繞組采用聚乙稀絕緣,尼龍護套耐用消費品水電磁線,電纜聯接方式按QJ型電纜接頭工藝,把接頭絕緣脫去刮凈漆層,分別接好,焊接牢固,用生橡膠繞一層。再用防水粘膠帶纏2~3層,外面包上2~3層防水膠布或用水膠粘結包一層橡膠帶(自行車里帶)以防滲水。
6、電機密閉,采用精密止口螺栓,電纜出口加膠墊進行密封。
7、電機上端有一個注水孔,有一個放氣孔,下部有一個放水孔。
8、電機下部裝有上下止推軸承,止推軸承上有溝槽用于冷卻,和它對磨的是不銹鋼推力盤,隨水泵的上下軸向力。

四、QJ型深井潛水泵使用條件
1.QJ型深井潛水泵電源要求:
(1)額定頻率為50赫茲,電機端額定電壓應保證為380+5%伏的三相交流電源(若用戶電壓為660伏時需特殊定貨)。
(2)變壓器負載功率不應超過其容量的75%。
(3)變壓器距井較遠時,應考慮輸電線線壓降,對功率大于45KW的電機,要求變壓器到井口距離不超過20米,大于20米時,要求輸電線規格比配電纜規格大兩個等級,并考慮線壓降。
2.水質要求:
(1)一般無腐蝕性清水。
(2)水中含砂量不大于0.01%(質量比)。
(3)酸堿度PH值在6.5-8.5范圍內。
(4)水中氯離子含量不大于400毫克/升。
(5)硫化氫含量不大于1.5毫克/升。
(6)水溫不高于20℃。
3.井筒要求:
正直、光滑、不得有凸起或井管錯位現象,井內徑不小于相應的機座號。
五、QJ型深井潛水泵安裝啟動運行
1、QJ型深井潛水泵安裝前的檢查與準備
(1)檢查水井是否符合本泵使用條件,即井徑、垂直和井壁質量以及靜水位、動水位、涌水量和水質條件等,若不符合使用條件必須采取相應措施,否則不能將泵下井。
(2)檢查供電設備及供電線路能否保證電泵正常運行。
(3)電源電壓和頻率是否符合使用條件。
(4)熟悉安裝使用說明書,對新鉆的水井必須進行洗井,清除水中泥砂后,方能安裝QJ型潛水電泵。
(5)檢查電氣線路,控制和保護裝置是否合理安全可靠。
(6)準備好各種安裝使用工具,豎立三角架和吊鏈(或其它吊裝工具)要安全、可靠、使用方便。
2、QJ型深井潛水泵安裝
(1)機泵一體卸下濾水網,然后打開注水和放氣孔螺栓往電機內腔注滿潔凈的清水,一定確保注滿,防止假滿。并檢查電機各部是否漏水。發現漏水根據部位應調正膠墊上緊螺栓。
(2)仔細檢查電纜和接頭有無碰傷或損壞,發現問題及時包孔。
(3)用500伏兆歐表測定繞阻的絕緣電阻不低于l50兆歐。
(4)安裝好保護開關和起動設備,并檢查電機內水是否灌滿然后上緊注水、放氣孔螺栓,然后上好護線板、濾水網準備安裝下井。
(5)在深井泵的出水口安裝短輸水管一節,并用夾板夾住吊起落入井中,使夾板座落井臺上。
(6)再用一付夾板夾住另一節輸水管,然后吊起降下與短輸水管法蘭相聯接。升起吊鏈拆下第一付夾板,使泵管下降井中又座落在井臺上,依次反復進行安裝,下井,直到全部裝完,后一節夾板不卸將泵固定在井口上。
(7)后放上井蓋,彎管,閘閥出水管等。
(8)每次連接法蘭時要加膠墊,對正后緊固螺釘要對角線方向同時上緊,防止歪斜漏水。
(9)電纜線要固定在輸水管法蘭上凹槽內,每節都用綁繩固定好,下井過程要小心,電纜不能當吊繩使用,更不要碰傷電纜。
(10)下泵過程有卡住現象,要想法克服卡點,不能強行下泵,以免卡死。
(11)大口井等安裝泵時嚴禁人員下井。
(12)保護開關和起動設備應配有電壓、電流表、指示燈,并安裝在配電盤上,放在井臺周圍適當的位置。
3.深井泵起動
(1)用500伏兆歐表測量電機繞阻對地絕緣電阻不低于5兆歐。
(2)檢查三相電源線路,電壓是否符合規定,各種儀表、保護設備及接線正確無誤后方可合閘起動。
(3)起動后觀察電流、電壓是否符合規定范圍,運轉聲音有無異常及震動現象發生,若不正常應及時找出原因處理解決。
4、QJ型深井潛水泵試轉向
為了判明正確的電機旋轉方向,應讓泵在閉閥狀態下,按兩個方向運轉。通過調換三
相電源的任意兩相,改變旋轉方向。旋轉方向不同,壓力表的讀數也不同。壓力較高的方向
就是正確的旋轉方向。也可以在閥門打開的情況下,從流量的大小來判別旋轉方向,流量較大的方向為正確的旋轉方向。
5、QJ型深井潛水泵停機
(1)關閉開關停機,再起動須等5分鐘或更長的時間,以防電機溫升過高,停機后好切斷電源。
(2)保護開關不得停用,或用鋁絲銅絲加大保險絲的作法是錯誤的。
(3)QJ潛水泵的連續停機時間不得超過14天,否則,水中的雜質,沉淀在軸承和葉輪間隙內,甚至會堵住水泵轉軸。如果工作環境要求停機時間超過l 4天,應至少每1 4天開機一次,運轉5分鐘,以保證機組隨時開機使用。

六、QJ型深井潛水泵維護保養
1.QJ型深井潛水泵運行中要經常觀察電流、電壓表和水的流量,力求電泵在額定工況下運行。
2.應用閥門調節流量、揚程,不得超載運行。有下列情況之一應立即停止運行:
(1)額定電壓時電流超過額定電流20%時;
(2)電源電壓過高或過低時(高于400V或低于360V);
(3)額定揚程下,流量較正常情況下降低較大;
(4)絕緣電阻低于0.5兆歐;
(5)動水位降至泵吸入口時;
(6)電器設備及電路不合規定時;
(7)電泵有突然聲響或較大的震動時;
(8)保護開關頻繁跳閘時。
3.QJ型深井潛水泵要經常不斷的觀察儀表,檢查電器設備每半個月測一次電機絕緣電阻,電阻值不低
于0.5兆歐。
4.每排灌期(2500小時)進行一次檢修保護,更換損壞的易損件。
5.QJ型深井潛水泵的起吊與裝卸:
(1)斷離電源,拆開電纜;
(2)用安裝工具逐步拆卸出水管、閘閥、彎管,并用夾板將泵吊起取出井蓋,并用另
一付夾板夾緊下一節輸水管,這樣依次,逐節拆卸將泵吊出井外。(在吊拆過程中,發現有
卡住不能強行起吊,應上下左右活動克服卡點安全吊卸);
(3)拆下護線板,濾水網并從引線和三芯電纜或扁電纜接頭處剪斷電纜;
(4)取出聯軸器上鎖圈,擰下固定螺釘,拆下連接螺栓,使電機、水泵分離;
(5)放出電機內充水;
(6)水泵的拆卸:
用拆裝扳手,卸下進水節,用拆裝筒在泵下部沖擊錐形套,葉輪松動后,取出葉輪、錐形套、卸下導流殼,這樣依次卸完葉輪、導流殼、上導流殼、止回閥等。
(7)電機拆卸:
依次拆下底座、止推軸承、推力盤、下導軸承座、連接座、甩砂器,取出轉子,拆下上導軸承座、定子等。
6.QJ型深井潛水泵的裝配:
裝配前檢查清洗各零部件的鐵銹、污泥,各配合面要涂黃油防銹,水泵大螺紋聯接處要涂鉛油。
(1)電機的裝配次序:
定子組裝一下導軸承座組裝一轉子組裝一推力盤一軸頭螺母一止推軸承組裝一底座組裝一上導軸承座組裝一骨架油封一連接座。調整螺柱,使電機軸伸符合規定的要求。然后上好調壓膜、調壓彈簧及蓋。
(2) QJ型深井潛水泵的裝配:
將軸和進水節固定在安裝座上,用拆裝筒將葉輪、錐形套固定在軸上,再裝上導流殼、葉輪……這樣依次裝完上流殼、止回閥等。 八級以下的電機水泵部分裝配時,首先在進水節和上導軸承座接觸平面間均勻分布,加相同3~3.5毫米墊片3~4處,然后均勻上好拉筋螺母,裝上聯軸器、泵軸、上好固定螺栓以及鎖圈,用拆裝筒將葉輪、錐形套固定在泵軸上,再裝上導流殼,葉輪……這樣依次裝完上導流殼等。泵裝好后松開拉筋螺母,取出墊片,再把拉筋螺母均勻上緊,然后從聯軸器處轉動電泵,轉動必須均勻。
7.QJ型深井潛水泵的保存
電泵長期不用時,應及時放出電機內清水,表面擦拭干凈,涂上防銹油,放在比較清潔、干燥、無化學腐蝕的場所。電機內腔充滿清水后,嚴禁放在溫度為0℃及以下的環境條件下,否則必須放凈腔內清水,以防凍裂電機。
七、QJ型深井潛水泵注意事項
電纜接頭應嚴格按附圖進行:
1.QJ型深井潛水泵下井前應檢查,各部螺絲有無松動,電纜有無破口,電機是否漏水,電機軸、水泵軸轉動是否靈活無阻;
2.下井前檢查電機電阻應在1 50兆歐以上;
3.電機注水要認真防止假滿,切忌未灌滿清水即開始運行;
4.保護開關和啟動設備應按規定配齊;
5.電機運轉2500小時應進行一次大修,l500小時應進行小檢修;
6.電泵停機存放時應把電機內存水放完;
7.嚴禁不懂裝懂野蠻拆裝、修理應在本廠或定點修理廠進行;
8.禁止頻繁“開"、“停";
9.安裝電泵時謹防異物掉入井內;
10.如遇下列情況應停機檢修:
(1)電流電壓超過額定值。
(2)流量明顯減少。
(3)水泵間歇出水或響聲震動較大。
(4)保護開關頻繁跳閘。
(5)電機絕緣,電阻低于0.5兆歐。
八、QJ型深井潛水泵型號意義
150QJ20-156/24
150-使用小井陘
QJ-井用潛水泵
20-流量(m3/h)
156-揚程(m)
24-葉輪級數
九、QJ型深井潛水泵常見故障及排除方法
QJ深井泵故障 |
深井潛水泵原因 |
深井潛水泵排除方法 |
|
不上水或者水量不足 |
1.動水位低于泵吸入口。 |
1.增加輸水管。 |
|
水泵流量降 |
1.密封環嚴重磨損。 |
1.更換密封環。 |
|
機組劇烈震動或電流過大表指針擺動 |
1.泵軸或電機軸彎曲。 1.修理或更換泵軸或電機軸。 |
|
|
電機不能啟動嗡嗡做響 |
1.斷相。 |
1.檢修線路或啟動設備。 |
|
絕緣電阻過低繞組燒毀 |
1.接頭進水。 |
1.修接頭。 |
QJ型深井潛水泵性能參數
|
序號 |
型號 |
流量(m3/h) |
揚程(m) |
電機功率(KW) |
額定電流A |
出水管直徑 |
配套電纜規格 |
|
1 |
1OOQJ2-50/10 |
2 |
40 |
0.75 |
2.0 |
40 |
3×1.5+1×1 |
|
2 |
100QJ2-70/14 |
70 |
1.1 |
3.1 |
3×1.5+1×1 |
||
|
3 |
100QJ2-80/16 |
80 |
1.1 |
3.1 |
3×1.5+1×1 |
||
|
4 |
100QJ2-100/20 |
100 |
1.5 |
3.8 |
3×1.5+1×1 |
||
|
5 |
100QJ2-110/22 |
110 |
1.5 |
3.8 |
3×1.5+1×1 |
||
|
6 |
100QJ2-140/28 |
140 |
1.5 |
3.8 |
3×1.5+1×1 |
||
|
7 |
100QJ2-150/30 |
150 |
2.2 |
5.6 |
3×1.5+1×1 |
||
|
8 |
1OOOJ2-160/32 |
160 |
2.2 |
5.6 |
3×2.5+1×1.5 |
||
|
9 |
100QJ2-190/38 |
190 |
2.2 |
5.6 |
3×2.5+1×1.5 |
||
|
10 |
1OOOJ2-200/40 |
200 |
3.0 |
7.3 |
3×4+1×2.5 |
||
|
11 |
100QJ3.2-40/6 |
2.2 |
40 |
0.75 |
2.0 |
40 |
3×1.5+1×1 |
|
12 |
1OOOJ3.2-54/8 |
54 |
0.75 |
2.0 |
3×1.5+1×1 |
||
|
13 |
100QJ3.2.68/10 |
68 |
1.1 |
3.1 |
3×1.5+1×1 |
||
|
14 |
100QJ3.2-72/11 |
72 |
1.1 |
3.1 |
3×1.5+1×1 |
||
|
15 |
1OOQJ3.2-99/15 |
99 |
1.5 |
3.8 |
3×1.5+1×1 |
||
|
16 |
1OOQJ3.2-108/16 |
108 |
2.2 |
5.6 |
3×1.5+1×1 |
||
|
17 |
100QJ3.2-135/20 |
135 |
2.2 |
5.6 |
3×2.5+1×1.5 |
||
|
18 |
1OOQJ3.2-144/21 |
144 |
3.O |
7.3 |
3×4+1×2.5 |
||
|
19 |
100QJ3.2-170/25 |
170 |
3.0 |
7.3 |
3×4+1×2.5 |
||
|
20 |
100QJ3.2-230/34 |
230 |
4.0 |
10.26 |
3×4+1×2.5 |
||
|
21 |
100QJ5-24/6 |
5 |
24 |
0.75 |
2.0 |
40 |
3×1.5+1×1 |
|
22 |
100QJ5-36/9 |
36 |
1.1 |
3.1 |
3×1.5+1×1 |
||
|
23 |
100QJ5-48/12 |
48 |
1.5 |
3.8 |
3×1.5+1×1 |
||
|
24 |
100QJ5-64/16 |
64 |
2.2 |
5.6 |
3×1.5+1×1 |
||
|
25 |
100QJ5-72/18 |
72 |
2.2 |
5.6 |
3×1.5+1×1 |
||
|
26 |
100QJ5-88/22 |
88 |
3.0 |
7.3 |
3×2.5+1×1.5 |
||
|
27 |
100QJ5-96/24 |
96 |
3.0 |
7.3 |
3×2.5+1×1.5 |
||
|
28 |
1OOQJ5-108/27 |
108 |
3.0 |
7.3 |
3×4+1×2.5 |
||
|
29 |
100QJ5-128/32 |
128 |
4.0 |
10.26 |
3×4+1×2.5 |
||
|
30 |
100QJ5-164/41 |
164 |
5.5 |
13.74 |
3×4+1×2.5 |
||
|
31 |
100QJ5-220/55 |
220 |
7.5 |
18.5 |
3×6+1×4 |
|
序號 |
型號 |
流量(m3/h) |
揚程 |
電機功率(KW) |
額定電流(A) |
出水管直徑 |
配套電纜規格 |
|
32 |
1OOQJ8-15/3 |
8 |
15 |
0.75 |
2.0 |
50 |
3×1.5+1×1 |
|
33 |
1OOQJ8-20/4 |
20 |
1.1 |
3.1 |
3×1.5+1×1 |
||
|
34 |
1OOQJ8-30/6 |
30 |
1.5 |
3.8 |
3×1.5+1×1 |
||
|
35 |
1OOQJ8-40/8 |
40 |
99 |
5.6 |
3×1.5+1×1 |
||
|
36 |
1OOQJ8-50/10 |
50 |
3.0 |
7.3 |
3×2.5+1×1.5 |
||
|
37 |
1OOOJ8-60/12 |
60 |
3.O |
7.3 |
3×2.5+1×1.5 |
||
|
38 |
1OOQJ8-70/14 |
70 |
3.0 |
7.3 |
3×2.5+1×1.5 |
||
|
39 |
1OOQJ8-85/17 |
85 |
4.0 |
10.26 |
3×2.5+1×1.5 |
||
|
40 |
1OOQJ8-95/19 |
95 |
5.5 |
13.74 |
3×4+1×2.5 |
||
|
41 |
1OOQJ8-100/20 |
100 |
5.5 |
13.74 |
3×4+1×2.5 |
||
|
42 |
1OOQJ8-110/22 |
110 |
5.5 |
13.74 |
3×4+1×2.5 |
||
|
43 |
1OOOJ8-135/27 |
135 |
7.5 |
18.5 |
3×4+1×2.5 |
||
|
44 |
1OOQJ8-150/30 |
150 |
7.5 |
18.5 |
3×4+1×2.5 |
||
|
45 |
1OOQJ10-48/1o |
10 |
48 |
2.2 |
5.6 |
50 |
3×1.5+1×1 |
|
46 |
1OOQJ10-60/13 |
60 |
3.0 |
7.3 |
3×2.5+1×1.5 |
||
|
47 |
1OOQJ10-80/17 |
80 |
4.0 |
10.26 |
3×2.5+1×1.5 |
||
|
48 |
1OOQJ10-108/22 |
108 |
5.5 |
13.74 |
3×4+1×2.5 |
||
|
49 |
1OOQJ10-130/27 |
130 |
7.5 |
18.5 |
3×4+1×2.5 |
||
|
50 |
1OOQJ15-34/10 |
15 |
34 |
3.O |
7.3 |
50 |
3×2.5+1×1.5 |
|
51 |
100QJ15-52/14 |
52 |
4.0 |
10.26 |
3×2.5+1×1.5 |
||
|
52 |
1OOQJ15-58/18 |
58 |
5.5 |
13.74 |
3×4+1×2.5 |
||
|
53 |
1OOQJ15-82/24 |
82 |
7.5 |
18.5 |
3×4+1×2.5 |
||
|
55 |
150QJ5-85/12 |
5 |
85 |
3 |
7.9 |
50 |
3×4 |
|
56 |
150QJ5-100/14 |
100 |
3 |
7.9 |
3×4 |
||
|
57 |
150QJ5-150/21 |
150 |
4 |
10.26 |
3×4 |
||
|
58 |
150QJ5-200/28 |
200 |
5.5 |
13.74 |
3×6 |
||
|
59 |
150QJ5-250/35 |
250 |
7.5 |
18.5 |
3×6 |
||
|
60 |
150QJ5-300/42 |
300 |
9.2 |
22.12 |
3×10 |
||
|
61 |
150QJ10-50/7 |
10 |
50 |
3 |
7.9 |
3×4 |
|
|
62 |
150QJ10-78/11 |
78 |
4 |
10.26 |
3×4 |
|
序號 |
型號 |
流量(m3/h) |
揚程(m) |
電機功率(KW) |
額定電流(A) |
出水管直徑 |
配套電纜規格 |
|
63 |
150QJ10-100/14 |
10 |
100 |
5.5 |
13.74 |
50 |
3×4 |
|
64 |
150QJ10-128/18 |
128 |
7.5 |
18.5 |
3×6 |
||
|
65 |
150QJ10-150/21 |
150 |
7.5 |
18.5 |
3×6 |
||
|
66 |
150QJ10-178/25 |
178 |
9.2 |
22.12 |
3×6 |
||
|
67 |
150QJ10-200/28 |
200 |
11 |
26.28 |
3×10 |
||
|
68 |
150QJ10-250/35 |
250 |
13 |
30.87 |
3×10 |
||
|
69 |
150QJ10-300/42 |
300 |
15 |
35.62 |
3×16 |
||
|
70 |
150QJ20-26/4 |
20 |
26 |
3 |
7.9 |
3×4 |
|
|
71 |
150QJ20-33/5 |
33 |
3 |
7.9 |
3×4 |
||
|
72 |
150QJ20-39/6 |
39 |
4 |
10.26 |
3×4 |
||
|
73 |
150QJ20-46/7 |
46 |
5.5 |
13.74 |
3×4 |
||
|
74 |
150QJ20-52/8 |
52 |
5.5 |
13.74 |
3×4 |
||
|
75 |
150QJ20-59/9 |
59 |
5.5 |
13.74 |
3×4 |
||
|
76 |
150Q220-65/10 |
65 |
7.5 |
18.5 |
3×4 |
||
|
77 |
150QJ20-72/11 |
72 |
7.5 |
18.5 |
3×4 |
||
|
78 |
150QJ20-78/12 |
78 |
7.5 |
18.5 |
3×6 |
||
|
79 |
150QJ201-85/13 |
85 |
9.2 |
22.12 |
3×6 |
||
|
80 |
150QJ20-91/14 |
91 |
9.2 |
22.12 |
3×6 |
||
|
81 |
150QJ20-98/15 |
98 |
9.2 |
22.12 |
3×6 |
||
|
82 |
150QJ20-104/16 |
104 |
11 |
26.28 |
3×6 |
||
|
83 |
150QJ20-111/17 |
111 |
11 |
26.28 |
3×6 |
||
|
84 |
150QJ20-117/17 |
117 |
13 |
30.87 |
3×6 |
||
|
85 |
150QJ20-124/19 |
124 |
13 |
30.87 |
3×6 |
||
|
86 |
150QJ20-130/20 |
130 |
13 |
30.87 |
3×6 |
||
|
87 |
150QJ20-137/21 |
137 |
15 |
35.62 |
3×6 |
||
|
88 |
150QJ20-143/22 |
143 |
15 |
35.62 |
3×6 |
||
|
89 |
150QJ20-150/23 |
150 |
15 |
35.62 |
3×6 |
||
|
90 |
150QJ20-156/24 |
156 |
15 |
35.62 |
3×10 |
||
|
91 |
150Q220-163/25 |
163 |
15 |
35.62 |
3×10 |
||
|
92 |
150QJ25-24/3 |
25 |
24 |
3 |
7.9 |
65 |
3×4 |
|
93 |
150QJ25-32/4 |
32 |
4 |
10.3 |
3×4 |
|
序號 |
型號 |
流量(m3/h) |
揚程 |
電機功率(KW) |
額定電流(A) |
出水管直徑 |
配套電纜規格 |
|
94 |
150QJ25-40/5 |
25 |
40 |
5.5 |
13.7 |
65 |
3×4 |
|
95 |
150QJ25-48/6 |
48 |
5.5 |
13.7 |
3×4 |
||
|
96 |
150QJ25-56/7 |
56 |
7.5 |
18.5 |
3×4 |
||
|
97 |
150QJ25--64/8 |
64 |
7.5 |
18.5 |
3×4 |
||
|
98 |
150QJ25-72/9 |
72 |
9.2 |
18.5 |
3×6 |
||
|
99 |
1509325-80/10 |
80 |
9.2 |
22.1 |
3×6 |
||
|
100 |
150QJ25-88/11 |
88 |
11 |
26.3 |
3×6 |
||
|
101 |
150QJ25-96/12 |
96 |
11 |
26.3 |
3×6 |
||
|
102 |
150QJ25-104/13 |
104 |
13 |
30.9 |
3×6 |
||
|
103 |
150QJ25-112/14 |
112 |
13 |
30.9 |
3×6 |
||
|
104 |
150QJ25-120/15 |
120 |
15 |
35.6 |
3×6 |
||
|
105 |
150QJ25-128/16 |
128 |
15 |
35.6 |
3×6 |
||
|
106 |
150QJ25-136/17 |
136 |
18.5 |
44.0 |
3×10 |
||
|
107 |
150QJ25-144/18 |
144 |
18.5 |
44.0 |
3×10 |
||
|
108 |
150QJ25-152/19 |
152 |
18.5 |
44.0 |
3×10 |
||
|
109 |
150QJ32-18/3 |
32 |
18 |
3 |
7.9 |
65 |
3×4 |
|
110 |
150QJ32-24/4 |
24 |
4 |
10.26 |
3×4 |
||
|
111 |
150QJ32-30/5 |
30 |
5.5 |
13.74 |
3×4 |
||
|
112 |
150QJ32-36/6 |
36 |
5.5 |
13.74 |
3×4 |
||
|
113 |
150QJ32-42/7 |
42 |
7.5 |
18.5 |
3×6 |
||
|
114 |
150QJ32-54/9 |
54 |
9.2 |
22.12 |
3×6 |
||
|
115 |
150QJ32-66/11 |
66 |
11 |
26.28 |
3×6 |
||
|
116 |
150QJ32-72/12 |
72 |
13 |
30.87 |
3×6 |
||
|
117 |
150QJ32-84/14 |
84 |
13 |
30.87 |
3×6 |
||
|
118 |
150QJ32-90/15 |
90 |
15 |
35.62 |
3×6 |
||
|
119 |
150QJ32-96/16 |
96 |
15 |
35.62 |
3×6 |
||
|
120 |
150QJ32-108/18 |
108 |
18.5 |
44.0 |
3×10 |
||
|
121 |
150QJ50-6/1 |
50 |
6 |
3 |
7.9 |
80 |
3×4 |
|
122 |
150QJ50-12/2 |
12 |
4 |
10.26 |
3×4 |
||
|
123 |
150QJ50-18/3 |
18 |
5.5 |
13.74 |
3×4 |
||
|
124 |
150QJ50-24/4 |
24 |
7.5 |
18.5 |
3×6 |
||
|
125 |
150Qj50-30/5 |
30 |
9.2 |
22.12 |
3×6 |
|
序號 |
型號 |
流量(m3/h) |
揚程 |
電機功率(KW) |
額定電流(A) |
出水管直徑 |
配套電纜規格 |
|
126 |
150QJ501-36/6 |
50 |
36 |
9.2 |
22.12 |
80 |
3×6 |
|
127 |
150QJ501-42/7 |
42 |
11 |
26.28 |
3×6 |
||
|
128 |
150QJ50-48/8 |
48 |
13 |
30.87 |
3×6 |
||
|
129 |
150QJ50-54/9 |
54 |
15 |
35.62 |
3×6 |
||
|
130 |
150QJ50-60/10 |
60 |
18.5 |
44.0 |
3×6 |
||
|
131 |
150QJ50-66/11 |
66 |
18.5 |
44.0 |
3×6 |
||
|
132 |
150QJ50-72/12 |
72 |
18.5 |
44.0 |
3×10 |
|
133 |
200QJ20-40/3 |
20 |
40 |
4 |
10.1 |
50 |
3×4 |
|
134 |
200QJ20-54/4 |
54 |
5.5 |
13.6 |
3×4 |
||
|
135 |
200QJ20-67/5 |
67 |
7.5 |
18 |
3×4 |
||
|
136 |
200QJ20-81/6 |
81 |
7.5 |
18 |
3×4 |
||
|
137 |
200QJ20-93/7 |
93 |
Q9 |
21.7 |
3×6 |
||
|
138 |
200QJ20-108/8 |
108 |
11 |
25.8 |
3×6 |
||
|
139 |
200QJ20-121/9 |
121 |
13 |
29.8 |
3×6 |
|
序號 |
型號 |
流量(m3/h) |
揚程 |
電機功率(KW) |
額定電流(A) |
出水管直徑 |
配套電纜規格 |
|
140 |
2000J20-133/10 |
20 |
133 |
15 |
33.9 |
50 |
3×6 |
|
141 |
2000J20-148/11 |
148 |
15 |
33.9 |
3×6 |
||
|
142 |
2000320-175/13 |
175 |
18.5 |
41.6 |
3×10 |
||
|
143 |
2000J20-202/15 |
202 |
22 |
48.2 |
3×16 |
||
|
144 |
2000J20-243/18 |
243 |
25 |
54.5 |
65 |
3×16 |
|
|
145 |
20003201-270/20 |
270 |
30 |
65.4 |
3×25 |
||
|
146 |
2000320-297/22 |
297 |
30 |
65.4 |
3×25 |
||
|
147 |
2000J20-338/25 |
338 |
37 |
79.7 |
3×25 |
||
|
148 |
200Q320-350/26 |
350 |
37 |
79.7 |
3×35 |
||
|
149 |
2000320-363/27 |
363 |
37 |
79.7 |
3×35 |
||
|
150 |
200QJ20-400/30 |
400 |
45 |
96.9 |
3×50 |
||
|
151 |
2000J20-450/34 |
450 |
45 |
96.9 |
3×50 |
||
|
152 |
2000332-26/2 |
32 |
26 |
4 |
10.1 |
65 |
3×4 |
|
153 |
2000J32-39/3 |
39 |
5.5 |
13.6 |
3×4 |
||
|
154 |
200Q332-52/4 |
52 |
7.5 |
18 |
3×4 |
||
|
155 |
2000J32-65/5 |
65 |
11 |
25.8 |
3×6 |
||
|
156 |
2000332-78/6 |
78 |
11 |
25.8 |
3×6 |
||
|
157 |
2000J32-91/7 |
91 |
13 |
29.8 |
3×6 |
||
|
158 |
200Q3321-104/8 |
104 |
15 |
33.9 |
3×6 |
||
|
159 |
2000332-130/10 |
130 |
18.5 |
41.6 |
3×10 |
||
|
160 |
2000332-156/12 |
156 |
25 |
54.5 |
3×16 |
||
|
161 |
2000J32-195/15 |
195 |
30 |
65.4 |
3×16 |
||
|
162 |
2000J32-234/18 |
234 |
37 |
79.7 |
3×25 |
||
|
163 |
2000J32-247/19 |
247 |
37 |
79.7 |
3×25 |
||
|
164 |
200Q332-260/20 |
260 |
45 |
96.9 |
3×25 |
||
|
165 |
2000332-286/22 |
286 |
45G |
96.9 |
3×35 |
||
|
167 |
2000340-26/2 |
40 |
26 |
5.5 |
13.6 |
3×4 |
|
|
168 |
200QJ40-39/3 |
39 |
7.5 |
18 |
3×4 |
||
|
169 |
200Q340-52/4 |
52 |
q9 |
21.7 |
3×6 |
||
|
170 |
2000340-65/5 |
65 |
11 |
25.8 |
3×6 |
||
|
171 |
200Q340-78/6 |
78 |
15 |
33.9 |
3×6 |
||
|
172 |
2000J40-104/8 |
104 |
18.5 |
41.6 |
3×10 |
||
|
173 |
200Q340-117/9 |
117 |
22 |
48.2 |
3×10 |
||
|
174 |
2000340-143/11 |
143 |
25 |
54.5 |
3×10 |
|
序號 |
型號 |
流量(m3/h) |
揚程(m) |
電機功率(KW) |
額定電流(A) |
出水管直徑 |
配套電纜規格 |
|
175 |
200QJ40-169/13 |
40 |
169 |
30 |
65.4 |
65 |
3×16 |
|
176 |
200QJ40-182/14 |
182 |
37 |
79.7 |
3×16 |
||
|
177 |
200QJ40-208/16 |
208 |
37G |
79.7 |
3×25 |
||
|
178 |
200QJ40-234/18 |
234 |
45G |
96.9 |
3×25 |
||
|
179 |
200QJ40-247/19 |
247 |
45G |
96.9 |
3×35 |
||
|
180 |
200QJ50-13/1 |
50 |
13 |
4 |
10.1 |
80 |
3×4 |
|
181 |
200QJ50-26/2 |
26 |
5.5 |
13.6 |
3×4 |
||
|
182 |
200QJ50-39/3 |
39 |
9.2 |
21.7 |
3×4 |
||
|
183 |
200QJ50-52/4 |
52 |
11 |
25.8 |
3×6 |
||
|
184 |
200QJ50-65/5 |
65 |
15 |
33.9 |
3×6 |
||
|
185 |
200QJS0-78/6 |
78 |
18.5 |
41.6 |
3×6 |
||
|
186 |
200QJ50-91/7 |
91 |
22 |
48.2 |
3×10 |
||
|
187 |
200QJ50-104/8 |
104 |
25 |
54.5 |
3×10 |
||
|
188 |
200QJ50-117/9 |
117 |
30 |
65.4 |
3×10 |
||
|
189 |
200QJ50-130/1O |
130 |
30 |
65.4 |
3×16 |
||
|
190 |
200QJ50-156/12 |
156 |
37 |
79.7 |
3×16 |
||
|
191 |
200QJ50-182/14 |
182 |
45G |
96.9 |
3×25 |
||
|
192 |
200QJ50-195/15 |
195 |
45G |
96.9 |
3×25 |
||
|
193 |
200QJ63-12/1 |
63 |
12 |
4 |
10.1 |
80 |
3×4 |
|
194 |
200QJ63-24/2 |
24 |
7.5 |
18 |
3×4 |
||
|
195 |
200QJ63-36/3 |
36 |
11 |
25.8 |
3×6 |
||
| 196
|
200QJ63-48/4 |
48 |
15 |
33.9 |
3×6 |
||
|
197 |
200QJ63-60/5 |
60 |
18.5 |
41.6 |
3×10 |
||
|
198 |
200QJ63-72/6 |
72 |
99 |
48.2 |
3×10 |
||
|
199 |
200QJ63-84/7 |
84 |
9氏 |
54.5 |
3×10 |
||
|
200 |
200QJ63-96/8 |
96 |
30 |
65.4 |
3×16 |
||
|
201 |
200QJ63-108/9 |
108 |
30 |
65.4 |
3×16 |
||
|
202 |
200QJ63-120/10 |
120 |
37 |
79.7 |
3×25 |
||
|
203 |
200QJ63-144/12 |
144 |
45 |
96.9 |
3×25 |
||
|
204 |
200QJ80-11/1 |
80 |
11 |
4 |
10.1 |
100 |
3×4 |
|
205 |
200QJ80-22/1 |
22- |
7.5 |
18 |
3×4 |
||
|
206 |
200QJS0-33/3 |
33 |
11 |
25.8 |
3×6 |
||
|
207 |
200QJ80-44/4 |
44 |
15 |
33.9 |
3×6 |
||
|
208 |
200QJ80-55/5 |
55 |
18.5 |
41.6 |
3×10 |
|
序號 |
型號 |
流量(m3/h) |
揚程(m) |
電機功率(KW) |
額定電流(A) |
出水管直徑 |
配套電纜規格 |
|
209 |
200QJ80-66/6 |
80 |
66 |
22 |
48.2 |
100 |
3×10 |
|
210 |
200QJ801-77/7 |
77 |
30 |
65.4 |
3×16 |
||
|
211 |
200QJ80-88/8 |
88 |
37 |
79.7 |
3×16 |
||
|
212 |
2000J80-99/9 |
99 |
37 |
79.7 |
3×16 |
||
|
213 |
200QJ80-121/11 |
121 |
45 |
96.9 |
3×25 |
||
|
214 |
250QJ32-138/6 |
32 |
138 |
22 |
47.9 |
65 |
3×10 |
|
215 |
250QJ32-161/7 |
161 |
25 |
53.8 |
3×16 |
||
|
216 |
250QJ321-184/8 |
184 |
30 |
64.2 |
3×16 |
||
|
217 |
250QJ32-207/9 |
207 |
37 |
77.8 |
3×16 |
||
|
218 |
250QJ32-230/10 |
230 |
37 |
77.8 |
3×25 |
||
|
219 |
250QJ32-253/11 |
253 |
45 |
94.1 |
3×25 |
||
|
220 |
250QJ32-276/12 |
276 |
45 |
94.1 |
3×25 |
||
|
231 |
250QJ32-300/13 |
300 |
55G |
114.3 |
80 |
3×35 |
|
|
232 |
250QJ32-322/14 |
322 |
55G |
114.3 |
3×35 |
||
|
233 |
250QJ32-345/15 |
345 |
63G |
130.9 |
3×50 |
||
|
234 |
250QJ32-368/16 |
368 |
63G |
130.9 |
3×50 |
||
|
235 |
250QJ32-391/17 |
391 |
63G |
130.9 |
3×70 |
||
|
236 |
250QJ32-414/18 |
414 |
75G |
152.3 |
3×70 |
||
|
237 |
250QJ32-437/19 |
437 |
75G |
152.3 |
3×70 |
||
|
238 |
250QJ32-460/20 |
460 |
75G |
152.3 |
3×70 |
||
|
239 |
250QJ32-483/21 |
483 |
90G |
182.8 |
3×95 |
||
|
240 |
250QJ32-506/22 |
506 |
90G |
182.8 |
3×95 |
||
|
241 |
250QJ32-529/23 |
529 |
90G |
182.8 |
3×95 |
||
|
242 |
250QJ32-552/24 |
552 |
90G |
182.8 |
3×95 |
||
|
243 |
250QJ32-575/25 |
575 |
100G |
203.1 |
3×95 |
||
|
244 |
250QJ32-598/26 |
598 |
100G |
203.1 |
3×95 |
||
|
245 |
250QJ50-20/1 |
50 |
20 |
5.5 |
13.6 |
65 |
3×4 |
|
246 |
250QJ50-40/2 |
40 |
9.2 |
21.7 |
3×4 |
||
|
247 |
250QJ50-60/3 |
60 |
13 |
29.8 |
3×6 |
||
|
248 |
250QJ50-80/4 |
80 |
18.5 |
41.6 |
3×10 |
||
|
249 |
250QJ50-100/4 |
100 |
22 |
47.9 |
80 |
3×10 |
|
|
250 |
250QJ50-120/6 |
120 |
25 |
53.8 |
3×16 |
||
|
251 |
250QJ50-140/7 |
140 |
37 |
77.8 |
3×16 |
|
序號 |
型號 |
流量(m3/h) |
揚程(m) |
電機功率(KW) |
額定電流(A) |
出水管直徑 |
配套電纜規格 |
|
252 |
250QJ50-160/8 |
|
160 |
37 |
77.8 |
80 |
3×16 |
|
253 |
250QJ50-180/9 |
180 |
45 |
94.1 |
3×25 |
||
|
254 |
250QJ50-200/10 |
200 |
45 |
94.1 |
3×25 |
||
|
255 |
2509350-220/11 |
220 |
55G |
114.3 |
3×35 |
||
|
256 |
250QJ50-240/12 |
240 |
55G |
114.3 |
100 |
3×50 |
|
|
257 |
250QJ50-260/13 |
260 |
63G |
130.9 |
3×50 |
||
|
258 |
250QJ50-280/14 |
280 |
63G |
130.9 |
3×50 |
||
|
259 |
250QJ50-300/15 |
300 |
63G |
130.9 |
3×50 |
||
|
260 |
250QJ50-320/16 |
50 |
320 |
75G |
152.3 |
3×70 |
|
|
261 |
250Qj50-340/17 |
340 |
90G |
182.8 |
3×70 |
||
|
262 |
250QJ50-360/18 |
360 |
90G |
182.8 |
3×70 |
||
|
263 |
250QJ50-380/19 |
380 |
1OOG |
203.1 |
3×95 |
||
|
264 |
250QJ50-400/20 |
400 |
100G |
203.1 |
3×95 |
||
|
265 |
2509ff50-420/21 |
420 |
110G |
223.4 |
3×95 |
||
|
266 |
250QJ50-440/22 |
440 |
110G |
223.4 |
3×95 |
||
|
267 |
250QJ50-460/23 |
460 |
110G |
223.4 |
3×95 |
||
|
268 |
250QJ50-480/24 |
480 |
110G |
223.4 |
3-2×70 |
||
|
269 |
250QJ50-500/25 |
500 |
110G |
223.4 |
3-2×70 |
||
|
270 |
250QJ80-20/1 |
80 |
20 |
7.5 |
18 |
3×4 |
|
|
271 |
250QJ80-40/9, |
40 |
15 |
33.9 |
3×6 |
||
|
272 |
250QJ80-60/3 |
60 |
22 |
47.9 |
3×10 |
||
|
273 |
250QJ80-80/4 |
80 |
30 |
64.2 |
3×16 |
||
|
274 |
250QJ80-100/5 |
100 |
37 |
77.8 |
3×25 |
||
|
275 |
250QJ801-120/6 |
120 |
45 |
94.1 |
3×25 |
||
|
276 |
250QJ80-140/7 |
140 |
55 |
114.3 |
3×25 |
||
|
277 |
250QJ80-160/8 |
160 |
55 |
114.3 |
3×25 |
||
|
278 |
250QJ80-180/9 |
180 |
63 |
130.9 |
3×35 |
||
|
279 |
250QJ80-200/1o |
200 |
75 |
152.3 |
3×50 |
||
|
280 |
250QJ80-220/11 |
220 |
90G |
182.8 |
3×70 |
||
|
281 |
250QJ80-240/12 |
240 |
90G |
182.8 |
3×70 |
||
|
282 |
250QJ80-260/13 |
260 |
90G |
182.8 |
3×70 |
|
序號 |
型號 |
流量(m3/h) |
揚程(m) |
電機功率(KW) |
額定電流(A) |
出水管直徑 |
配套電纜規格 |
|
283 |
250QJ80-280/14 |
80 |
280 |
100G |
203.1 |
100 |
3×95 |
|
284 |
250QJ80-300/15 |
300 |
110G |
223.4 |
3×95 |
||
|
285 |
250QJ80-320/16 |
320 |
110G |
223.4 |
3×95 |
||
|
286 |
250QJ100-18/1 |
100 |
18 |
7.5 |
18 |
3×4 |
|
|
287 |
250QJ100-36/2 |
36 |
15 |
33.9 |
3×6 |
||
|
288 |
250Q5100-54/3 |
54 |
25 |
53.8 |
3×16 |
||
|
289 |
25093100-72/4 |
72 |
30 |
64.2 |
3×16 |
||
|
290 |
250QJ100-108/6 |
108 |
45 |
94.1 |
3×25 |
||
|
291 |
250QJ100-126/7 |
126 |
55 |
114.3 |
3×25 |
||
|
292 |
250QJ100-144/8 |
144 |
63 |
130.9 |
3×35 |
||
|
293 |
250QJ100-162/9 |
162 |
75 |
152.3 |
3×35 |
||
|
294 |
250QJ100-198/11 |
198 |
90G |
182.8 |
3×50 |
||
|
295 |
250QJ100-216/12 |
216 |
100G |
203.1 |
3×70 |
||
|
296 |
250QJ100-234/13 |
234 |
110G |
223.4 |
3×95 |
||
|
297 |
250QJ100-252/14 |
252 |
110G |
233.4 |
3×95 |
||
|
298 |
250QJ125-16/1 |
125 |
16 |
9.2 |
21.7 |
125 |
3×4 |
|
299 |
250QJ1251-32/2 |
32 |
18.5 |
41.6 |
3×6 |
||
|
300 |
250QJ125-48/3 |
48 |
25 |
53.8 |
3×50 |
||
|
301 |
250QJ125-64/4 |
64 |
37 |
77.8 |
3×16 |
||
|
302 |
250QJ125-80/5 |
80 |
45 |
94.1 |
3×16 |
||
|
303 |
250QJ125-96/6 |
96 |
55 |
114.3 |
3×25 |
||
|
304 |
250QJ125-112/7 |
112 |
63 |
130.9 |
3×35 |
||
|
305 |
250QJ125-128/8 |
128 |
75 |
152.3 |
3×35 |
||
|
306 |
250QJ125-144/9 |
144 |
90G |
182.8 |
3×35 |
||
|
307 |
250QJ125-160/10 |
160 |
90G |
182.8 |
3×35 |
||
|
308 |
250QJ125-176/11 |
176 |
100G |
203.1 |
3×50 |
||
|
309 |
250QJ125-192/12 |
192 |
110G |
223.4 |
3×50 |
||
|
310 |
250QJ125-208/13 |
208 |
110G |
223.4 |
3×70 |
||
|
311 |
250QJ140-15/1 |
140 |
15 |
9.2 |
21.7 |
3×6 |
|
|
312 |
250QJ140-30/2 |
30 |
18.5 |
41.6 |
3×6 |
||
|
313 |
250QJ140-45/3 |
45 |
30 |
64.2 |
3×16 |
|
序號 |
型號 |
流量(m3/h) |
揚程(m) |
電機功率(KW) |
額定電流(A) |
出水管直徑 |
配套電纜規格 |
|
314 |
250QJ140-60/4 |
140 |
60 |
37 |
77.8 |
125 |
3×16 |
|
315 |
250QJ140-75/5 |
75 |
45 |
94.1 |
3×16 |
||
|
316 |
250QJ140-90/6 |
90 |
E氏UU |
114.3 |
3×25 |
||
|
317 |
250QJ140-105/7 |
105 |
63 |
130.9 |
3×35 |
||
|
318 |
250QJ140-120/8 |
120 |
75 |
152.3 |
3×35 |
||
|
319 |
250QJ140-150/10 |
150 |
90G |
182.8 |
3×35 |
||
|
320 |
250QJ140-165/11 |
165 |
100G |
203.1 |
3×50 |
||
|
321 |
250QJ140-180/12 |
180 |
110G |
223.4 |
3×70 |
||
|
322 |
250QJ160-15/1 |
160 |
15 |
11 |
25.8 |
3×6 |
|
|
323 |
250QJ160-30/2 |
30 |
22 |
47.9 |
3×16 |
||
|
324 |
250QJ160-45/3 |
45 |
37 |
77.8 |
3×16 |
||
|
325 |
250QJ160-60/4 |
60 |
45 |
94.1 |
3×25 |
||
|
326 |
250QJ160-75/5 |
75 |
5氏UU |
114.3 |
3×25 |
||
|
327 |
250QJ160-90/6 |
90 |
63 |
.130.9 |
3×35 |
||
|
328 |
250QJ160-105/7 |
105 |
75 |
152.3 |
3×35 |
||
|
329 |
250QJ160-120/8 |
120 |
90 |
182.8 |
3×35 |
||
|
330 |
250QJ160-135/9 |
135 |
90G |
182.8 |
3×35 |
||
|
331 |
250QJ160-150/10 |
150 |
100G |
203.1 |
3×50 |
||
|
332 |
300QJ200-20/1 |
200 |
20 |
18.5 |
41.6 |
125 |
3×6 |
|
333 |
300QJ200-40/2 |
40 |
37 |
77.8 |
3×16 |
||
|
334 |
300QJ2001-60/3 |
60 |
5EUU |
114.3 |
3×25 |
||
|
335 |
300QJ200-80/4 |
80 |
75 |
152.3 |
3×35 |
||
|
336 |
300QJ200-100/5 |
100 |
90G |
182.8 |
3×50 |
||
|
337 |
300QJ200-120/6 |
120 |
110G |
220.8 |
3×50 |
||
|
338 |
300QJ200-140/7 |
140 |
125G |
249.5 |
3×70 |
||
|
339 |
300QJ200-160/8 |
160 |
140G |
277.8 |
3×70 |
||
|
340 |
300QJ230-20/1 |
230 |
20 |
22 |
47.9 |
150 |
3×6 |
|
340 |
300QJ230-40/2 |
40 |
45 |
94.1 |
3×16 |
||
|
342 |
300QJ230-60/3 |
60 |
75 |
154 |
3×25 |
||
|
343 |
300QJ230-80/4 |
80 |
906 |
183.8 |
3×35 |
||
|
344 |
300QJ230-100/5 |
100 |
90G |
183.8 |
3×50 |
|
序號 |
型號 |
流量(m3/h) |
揚程(m) |
電機功率(KW) |
額定電流(A) |
出水管直徑 |
配套電纜規格 |
| 345
|
300QJ250-15/1 |
250 |
15 |
18.5 |
41.6 |
150 |
3×10 |
| 346 |
300QJ250-30/2 |
30 |
37 |
77.8 |
3×16 |
||
| 347
|
300QJ250-24/1 |
24 |
30 |
64.2 |
3×16 |
||
| 348
|
300QJ250-48/2 |
48 |
55 |
114.3 |
3×25 |
||
| 349
|
300QJ250-72/3 |
72 |
90G |
183.8 |
3×35 |
||
| 350
|
300QJ320-28/1 |
320 |
28 |
45 |
94.1 |
200 |
3×16 |
| 351
|
300QJ320-56/2 |
56 |
75 |
152.3 |
3×35 |
||
| 352
|
300QJ320-84/3 |
84 |
125G |
249.5 |
3×50 |
||
| 353
|
350QJ250-25/1 |
250 |
25 |
30 |
64.2 |
150 |
3×25 |
| 354
|
350QJ250-50/2 |
50 |
63 |
130.9 |
3×35 |
||
| 355
|
350QJ250-75/3 |
75 |
906 |
182.8 |
3×50 |
||
| 356
|
350QJ250-100/4 |
100 |
125G |
249.5 |
3×50 |
||
| 357
|
350QJ320-30/1 |
320 |
30 |
45 |
94.1 |
200 |
3×16 |
| 358
|
350QJ320-60/2 |
60 |
90G |
182.8 |
3×50 |
||
| 359
|
350QJ320-90/3 |
90 |
1406 |
277.8 |
3×50 |
||
| 360
|
350QJ320-20/1 |
20 |
30 |
64.2 |
3×16 |
||
| 361
|
350QJ320-40/2 |
40 |
63 |
130.9 |
3×35 |
||
| 362
|
350QJ500-20/1 |
500 |
20 |
45 |
94.1 |
3×25 |
|
| 363
|
350QJ500-40/1 |
40 |
90G |
182.8 |
3×50 |





