ZW型無堵塞自吸排污泵結構圖
時間:2012-7-27 來源:揚子江泵業 瀏覽數:543
【ZW型無堵塞自吸排污泵】產品簡介:
ZW型無堵塞自吸排污泵,又稱固液泵或雜質泵。是集自吸泵和無堵塞排污泵功能于一體,采用軸向回流外混式,水力設計獨特,葉輪是縮在單獨的葉輪室內,連接葉輪室的是壓水室,當葉輪旋轉時,泵內液體產生強烈的軸向渦流作用,使進口造成真空,出口產生揚程。因而雜質可以從壓水室排出,所以它的流道是完全暢通的,其排污效果是其它自吸式排污泵無可比擬的。通過泵體、葉輪流道的獨特設計,即可像一般自吸式清水離心泵那樣不需要安裝底閥和灌引水,又可吸排含有大顆粒固本和長纖維雜質液體。
【ZW型無堵塞自吸排污泵】型號意義:

【ZW型無堵塞自吸排污泵】產品優點:
ZW型無堵塞自吸排污泵與國內同類產品相比,具有結構簡單、自吸性能好、排污能力強、高效節能,使用維修方便等特點。
ZW型無堵塞自吸排污泵在排污泵系列產品中屬國內首創。各項技術性能指標居國內領先,達到國際先進水平,具有廣闊的應用市場和發展前景。
【ZW型無堵塞自吸排污泵】產品用途:
ZW型無堵塞自吸排污泵即可象一般自吸清水泵那樣不需要安裝底閥,又可吸排含有大顆粒固體塊、長纖維、沉淀物、廢礦雜質、糞便處理及一切工程污水物?蓮V泛適用于市政排污工程、輕工、造紙、紡織、食品、化工、電業、石油、礦山和河塘養殖等行業。它是目前國內抽送固體顆粒、纖維、漿料和混合懸浮等介質理想的雜質泵。
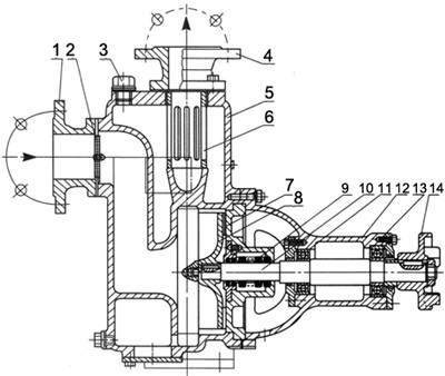
【ZW型無堵塞自吸排污泵】結構圖:
|
|
1 |
進口法蘭 |
|
2 |
拍門 |
|
|
3 |
加液螺栓 |
|
|
4 |
出口法蘭 |
|
|
5 |
泵體 |
|
|
6 |
氣液分離管 |
|
|
7 |
后蓋 |
|
|
8 |
葉輪 |
|
|
9 |
機械密封 |
|
|
10 |
泵軸 |
|
|
11 |
前軸承 |
|
|
12 |
軸承體 |
|
|
13 |
后軸承 |
|
|
14 |
連軸節 |
ZW型無堵塞自吸排污泵為單級單吸臥式,吸入口為軸向吸入,排出口為垂直向上,自吸入口向電機端看為順時針方向旋轉。
泵進、出口聯接:按基本型為法蘭(GB115.7-8-88)。配套電機為Y型異步電動機,可選擇普通型或防爆型,根據要求另行商定。ZW型無堵塞自吸排污泵泵體材質選用HT200、葉輪材質選用QT400-18,也可根據用戶需要選用不銹鋼,用于輸送腐蝕性介質。
【ZW型無堵塞自吸排污泵】性能參數:
|
型號 |
進出口徑 (mm) |
流量 (m3/h) |
揚程 (m) |
電機功率 (kw) |
自吸高度 (m) |
|
25ZW8-15 |
25×25 |
8 |
15 |
1.5-2P |
5 |
|
32ZW10-20 |
32×32 |
10 |
20 |
2.2-2P |
|
|
40ZW20-15 |
40×40 |
20 |
15 |
2.2-2P |
|
|
40ZW15-30 |
15 |
30 |
3.0-2P |
||
|
50ZW10-20 |
50×40 |
10 |
20 |
2.2-2P |
|
|
50ZW20-15 |
20 |
15 |
2.2-2P |
||
|
50ZW18-22 |
18 |
22 |
3.0-2P |
||
|
50ZW15-30 |
15 |
30 |
3.0-2P |
||
|
65ZW30-18 |
65×50 |
30 |
18 |
4.0-2P |
|
|
65ZW20-30 |
20 |
30 |
5.5-2P |
||
|
65ZW25-40 |
25 |
40 |
7.5-2P |
||
|
80ZW40-16 |
80×65 |
40 |
16 |
4.0-4P |
|
|
80ZW65-25 |
65 |
25 |
7.5-2P |
||
|
80ZW80-35 |
80 |
35 |
15.0-2P |
||
|
80ZW50-60 |
50 |
60 |
22.0-2P |
||
|
80ZW80-45 |
80 |
45 |
22.0-2P |
||
|
100ZW80-20 |
100×80 |
80 |
20 |
7.5-4P |
|
|
100ZW100-15 |
100 |
15 |
7.5-4P |
||
|
100ZW100-20 |
100 |
20 |
11.0-4P |
||
|
100ZW100-30 |
100 |
30 |
22.0-2P |
||
|
100ZW80-45 |
80 |
45 |
30.0-2P |
||
|
100ZW80-60 |
80 |
60 |
37.0-2P |
||
|
100ZW80-80 |
80 |
80 |
45.0-2P |
||
|
125ZW120-20 |
125×125 |
120 |
20 |
15.0-4P |
|
|
150ZW200-15 |
150×150 |
200 |
15 |
15.0-4P |
|
|
150ZW200-20 |
200 |
20 |
22.0-4P |
||
|
150ZW200-28 |
200 |
28 |
30.0-4P |
||
|
150ZW400-25 |
400 |
25 |
55.0-2P |
||
|
150ZW180-40 |
180 |
40 |
55.0-4P |
||
|
200ZW280-12 |
200×150 |
280 |
12 |
22.0-4P |
|
|
200ZW300-18 |
300 |
18 |
37.0-4P |
||
|
200ZW300-25 |
300 |
25 |
45.0-4P |
||
|
200ZW280-28 |
280 |
28 |
55.0-4P |
||
|
250ZW400-22 |
250×200 |
400 |
22 |
55.0-4P |
|
|
300ZW800-14 |
300×250 |
800 |
14 |
55.0-4P |
【ZW型無堵塞自吸排污泵】安裝示意圖:
|
|
1 |
泵 |
|
2 |
壓力表 |
|
|
3 |
出口垂管 |
|
|
4 |
吸入硬喉管 |
|
|
5 |
彎頭 |
|
|
6 |
流量控制閥 |
|
|
7 |
出口管路 |
|
|
8 |
加液螺塞 |
|
|
9 |
真空表 |
ZW型無堵塞自吸排污泵安裝好壞對泵的運行和壽命有較大影響,所以必須仔細進行。(規范的泵管路安裝見示意圖)
1、ZW型無堵塞自吸排污泵吸入口的安裝高度盡量不要超過5米,應特別注意吸入管路的密封性,以免漏氣而影響泵的自吸能力和正常運行。
2、ZW型無堵塞自吸排污泵的出口處應先裝上一段垂管(一般為0.4~1米)和壓力表,然后再安裝出口流量控制閥門及其他管路。
3、要合理配置泵進、出口管路的長度和管徑,減少不必要的沿程水頭損失。(可參考直管摩擦損失簡表進行估算)
4、長距離輸送時應選用較大管徑。泵的管路應有自己的支架,泵體本身不允許承受管路的負荷。
5、排出管路如裝逆止閥應裝在出口流量控制閥門外面。
- 下一篇:ZW型無堵塞自吸排污泵安裝尺寸圖
- 上一篇:ZCQ型自吸式磁力泵結構圖







