AS型撕裂式潛水排污泵結構圖
時間:2012-7-20 來源:揚子江泵業 瀏覽數:1282
【AS型撕裂式潛水排污泵】產品概述:
AS、AV型撕裂式潛水排污泵是本司采用德國公司先進的技術研發而成,此系列水泵具有帶撕裂的結構,能將污水中長纖維、袋、帶、草、布條等物質撕裂、切斷,然后順利排放,特別適合于輸送含有堅硬固體、纖維物的液體以及特別臟、粘、滑的液體。該系列排污泵水力性能先進、成熟,產品經性能測試,各項指標均符合有關設計要求。
本司產品全部采用計算機設計和優化處理,公司擁有雄厚的技術力量、豐富的生產經驗和完善的檢測手段,從而保證產品質量的穩定可靠。
【AS型撕裂式潛水排污泵】型號意義:

【AS型撕裂式潛水排污泵】產品特點:
◆ 采用先進技術,排污能力強,無堵塞,能有效地通過直徑φ30-φ80毫米的固體顆粒。
◆ 撕裂機構能夠把纖維物質撕裂,切斷,然后順利排放,無需在泵上加濾網。
◆ 設計合理,配套電機功率小,節能效果顯著。
◆ 用新材料的機械密封,可以使泵安全連續運行在8000小時以上。
◆ 結構緊湊,移動方便,安裝簡單,可減少工程造價,無需建造泵房。
◆ 能夠在全揚程范圍內使用,而保證電機不會過載。
◆ 浮球天并可以根據所需的水位變化,自動控制泵的啟動與停止,不需?垂。
◆ 雙導軌自動安裝系統,它給安裝、維修帶來了極大的方便,人可不必為此而進出污水坑。
◆ 配備全自動保護控制箱對產品的漏電、漏水以及過載等進行了有效保護,提高了產品的安全性與可靠性。
【AS型撕裂式潛水排污泵】技術范圍:
流量:15-145m3/h;
揚程:4-25m;
轉速:1450-2900r/min;
口徑:φ76-φ152;
溫度范圍:-15-+40℃;
工作壓力:≤1.0Mpa。
【AS型撕裂式潛水排污泵】主要用途:
◆ 工廠、商業嚴重污染廢水的排放
◆ 醫院、賓館的污水排放
◆ 城市污水處理廠排放系統
◆ 市政工程、建筑工地
◆ 住宅區的污水排水系統
◆ 勘探、礦山配套附機
◆ 人防系統排水站
◆ 農村沼氣池、農田灌溉
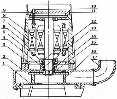
【AS型撕裂式潛水排污泵】結構圖:
|
|
1 |
底座 |
10 |
電纜 |
|
2 |
泵體 |
11 |
上蓋 |
|
|
3 |
軸承體 |
12 |
軸承 |
|
|
4 |
軸 |
13 |
機械密封 |
|
|
5 |
唇型密封 |
14 |
平鍵 |
|
|
6 |
電機殼 |
15 |
葉輪螺母 |
|
|
7 |
定子鉄芯 |
16 |
葉輪 |
|
|
8 |
轉子鐵芯 |
17 |
彎管 |
|
|
9 |
進線密封 |
|
|
【AS型撕裂式潛水排污泵】性能參數:
|
型號 |
流量 |
揚程 |
電機功率 |
轉速 |
額定電壓 |
額定電流 |
配用膠管內徑 |
自耦裝置 |
重量 |
|
(m3/h) |
(M) |
(kw) |
(r/min) |
(V) |
(A) |
mm |
|||
|
AS10-2W/CB |
15 |
4 |
1.1 |
2850 |
220 |
5.65 |
76 |
80GAK |
30 |
|
AS10-2CB |
15 |
4.5 |
1.1 |
2850 |
380 |
2.9 |
76 |
80GAK |
30 |
|
AS16-2CB |
29 |
7.6 |
1.5 |
2850 |
380 |
3.5 |
76 |
80GAK |
33 |
|
AS30-2CB |
42 |
11 |
3 |
2850 |
380 |
6.4 |
76 |
80GAK |
40 |
|
AS55-2CB |
45 |
13 |
5.5 |
2900 |
380 |
11.1 |
127 |
100GAK |
165 |
|
AS55-4CB |
100 |
7.5 |
5.5 |
1450 |
380 |
11.6 |
152 |
150GAK |
180 |
|
AS75-2CB |
60 |
18 |
7.5 |
2900 |
380 |
15.0 |
127 |
100GAK |
185 |
|
AS75-4CB |
145 |
10 |
7.5 |
1450 |
380 |
15.4 |
152 |
150GAK |
200 |
|
AV14-4 |
22 |
5.8 |
1.5 |
1450 |
380 |
3.5 |
76 |
80GAK |
33 |
|
AV55-2 |
30 |
20 |
5.5 |
2900 |
380 |
11.1 |
76 |
100GAK |
165 |
|
AV75-2 |
30 |
25 |
7.5 |
2900 |
380 |
15.0 |
76 |
100GAK |
200 |
【AS型撕裂式潛水排污泵】性能型譜圖:
【AS型撕裂式潛水排污泵】外形尺寸圖:

【AS型撕裂式潛水排污泵】安裝尺寸圖:


【AS型撕裂式潛水排污泵】使用說明:
在水泵啟動之前,應由一名合格的電工對該系統進行檢查,以確保下列下述各頂所要求的電器保護措施:
1、泵在運轉前,應用0~500兆歐表檢查電機相間及相對地絕緣電阻,低値應大于2MΩ;
2、電源裝置應安全、可靠、正常。電源電壓、頻率應符合規定(電壓為380V±5%,頻率為50Hz±1%),且電壓的瞬時超差不應超過10%。如果電源離水泵使用的距萬較遠時,電纜的截面積應加粗,接頭應盡可能少些,否則會使電壓下降太多,且應在電纜接頭處作密封防水處理,以防漏電;
3、在四芯電纜中,帶有符號"┴"者為接地線(一般為綠黃雙色線或黑色線)為了保證安全使用, 必須牢固接地,并比其它線長出50mm;
4、條件許可時,電器保護裝置可包括:接地保護器,地面漏電斷流器等,但是,在任何情況下,都必須裝有和電泵額定電流値相符的慢熔保險熔斷絲;
5、電器控制裝置應防潮,井安裝在防潮的區域,電纜的安放應注意不要使其堵在泵的吸入口處;
6、檢查轉子轉動方向。
在電泵初次啟動或重新安裝后都應檢查轉動方向,轉動方向不正確運轉會造成水泵效率降低,或造成葉輪脫落等損壞水泵事頂。
為測定轉子轉動方向,在水泵終安裝之前,應舉高并作點動運行,符合下列情況即轉動方向正確, 否則,應交換控制器上三相線中任意兩根線的位置以改變轉動方向。
a.從泵的頂部向下看,轉子順時針方向轉動;
b、從底部向上看〔即吸入口方向〕可見葉片按逆時針方向轉動。
注:如果幾臺泵連到同一個控制器上,則應單獨檢查。
【AS型撕裂式潛水排污泵】運輸與使用注意事項:
1、決不允許用泵的電纜線起吊或懸掛水泵,在搬運或懸掛水泵時,可用帶鉤的鏈條鉤在把手上或上蓋的吊環上;
2、在移動使用時,出水軟管可用前面表格規定的標準軟管接頭,接在水泵的出水彎管上,固定使用時,可根據自耦裝置的法蘭標準設置管路;
3、水泵不能放在污水的出口處,當水泵座放在泥地上或浮沙上吋,水泵由于震動,產生下陷,這時建議用戶將水泵懸置起宋或放在一個較大的底板上;
4、如果泵仍在繼續運轉,在0℃以下的氣溫時,可以繼續使用,但如果停止不用時,則應將泵吊起清洗保管;
5、出水管內徑應符合規定的要求,但在輸送距離較遠時,也可適當減小內徑但易引起堵塞,降低輸送效率,不經濟;
6、在污水中使用的泵,經過長時間運轉之后,在機殼的周圍可能堆集泥漿等雜物,降低了傳熱的速度,使泵的內部溫度上升,縮短電機的使用壽命,或造成無緣無故的跳閘,因此,每運轉一定時段之后〔比如降至低水位)應用軟管對泵進行沖洗,保持其淸潔;
7、泵密封使用10#-30#機械油進行潤滑冷卻,由于密封磨損,潤滑油會漏出,而轍送介質也可能經過密封逬入電機,這時請趕快將泵送至本廠修理部門或委托維修點更換密封,以免將水泵電機燒壞;
8、未切斷電源時,不得移動水泵,不得在泵工作吋接觸四周的水源,以防泵萬一漏電,而又無地面漏電斷流器裝置時,造成觸電事故;
9、潛水電泵安裝以后,不宜長期浸泡在水中不用,從而增加電機受潮的機會,同時建議每周至少運轉4小時以檢查其功能及適應性,否則,應提起放在干燥處備用。
【AS型撕裂式潛水排污泵】安裝注意事項:
正確安裝使用是該泵長久,正常運轉的基本保證,特別提醒用戶千萬不可大意:
1、水泵電源線必須與配套電控裝置或匹配熱繼電保護器相連接,不得直接與總電源相接;
2、無論是移動安裝還是自動固定式安裝,提泵鏈索及電纜線均不應垂落太長以免被泵吸進切斷;
3、積水池底部泥漿過綢或硬石過多時,應將泵置于該物質之上30cm或將泵放置于一塊大的鐵板之上;
4、水泵排水管應按說明選用,不宜隨便改變;
5、單臺水泵安裝在水無可能回流情況下,盡可能不裝止回閥;
6、雙臺水泵并聯時,不得將閘閥及止回閥安置在主管處,以致泥沙反沖至備用泵上端造成止回閥不能啟動,如有可能應在橫管處設干井,安裝置放止回閥及闬閥;
7、確保電泵轉向正確后,方可投入連續運轉;
8、本系列水泵長期使用過程中,無論自動、手動,不得頻繁啟動,一般每小時不宜超過六次;
9、維修水泵時,必須切斷電源。
【AS型撕裂式潛水排污泵】檢查與維修:
本系列泵產品性能優良,運行可靠,每臺泵在出廠前都進行了嚴格的出廠檢測,永久潤滑的球軸承以及處于油室內運行的優質機械密封使水泵具有大的耐用性,然而,為了確保水泵的使用壽命,建議進行定期的檢查和保養。
1、定期檢查電泵電動機相間及相對地間絕緣電阻,其値應大于2MΩ,否則應拆機檢修(逬行干燥處理)同時檢查接地是否牢固;
2.葉輪和撕裂機構(底座蓋板)之間的間隙為0.3~0.5,在介質中長期使用之后,此間隙可能由于磨損而增大,此時應予以調整,其方法如下:斷幵電源,松幵固定螺釘,將蓋板旋轉一個適當的角度即可恢復原間隙;
3、電泵多次使用后必須把電泵放入清水中運行數分鐘,防止泵內留下沉積物,以保證電泵的清潔';
4、電泵在規定的介質中正常運行半年后應檢查油室密封狀況,更換10#~30#機油必要時更換機械密封件,對于在惡劣工作條件下使用的電泵,應經常檢修;
換油方法如下:把泵放置好,使油室螺塞(位于出水口內側)朝下,放出潤滑油,然后用洗深油清洗油室,再注入適量的油(約70%~80%)再換一個新的〇型圈并將螺塞旋緊。
如油中發現有水〔奶狀乳化液)按規定沖洗油室井重新裝油,三個星期后必須重新檢查一次,如果油又變成乳狀液,機械密封件應進行檢查,必要時應予更換(與我廠維修部接洽〕,如自己更換密封件,須做氣密試驗(空氣壓力為0.5kg/cm2)
5、萬一發生故障,在不能確定原因,幷且按后面提供的排除方法仍不能解決吋,清不要釆取臨時湊的辦法,更不要私自亂拆亂修,而應與我廠維修部門聯系。
【AS型撕裂式潛水排污泵】故障原因及排除方法:
|
故障原因 |
原因分析 |
處理方法 |
|
泵的流量或揚程下降 |
1.泵反轉 2、輸送揚程太高。 3、抽吸的介質走旁路。 4、出水管泄漏。 5、出水管局部可能被沉積物堵死 6、泵局部堵塞。 7、葉輪/底座磨損。 |
1、關掉控制箱的總電源,洞換任何二相電源線。 2、 檢查:a、選擇的泵型號是否正確。 b、出水管尺寸是否正確。 3、 檢查閥門是否被關死,然后滿員載測試泵。 4、 找出泄漏,幷逬行修正。 5、 檢查管線,清理或更換新的。 6、 吊起泵涌理,如果泵放在濾網內,同樣也需檢查和清理 7、 吊起泵凋整間隙或更換零件。 |
|
泵的運轉后無流量 |
1、氣塞。 2、檢查出水排放閥門。 3、泵反轉。 |
1、 a、接二連三地打幵和關閉閥門幾次。 b、啟動停止泵幾次,每次重新啟動之間間隙為2—3分鐘 c、根據不同的安裝方法,檢査是否需裝一個空氣釋放閥 2、 a、如果閥門處于關閉狀態應打幵。 b、如果裝反了,應重新倒過來。 3、 參見1.(1) |
|
泵起動和停止太頻繁 |
1、浮球開關定的距離太短。 2、逆止閥故障,逆止閥不能止回,使液體倒流入污水池。 |
1、重調浮球開關,延長運行時間。 2、檢查并維修。 |
|
停止失靈 |
1、浮球幵關,亭止"功能失靈”。 2、浮球上浮子卡在"工作"的位置 |
1、檢查,如需要應予更換。 2、忪幵,如需要的活,可改変位置。 |
|
泵起動后,斷路器/過載器跳開 |
1、電壓低。 2、電壓過高。 3、電譏接線不對 4、在蝸殼底部堆積了泥漿或?它沉積物。 |
1、 a、檢查控制盒電壓,如電壓過低,暫時不能使用。 b、電纜線過長,引起壓降過大,應盡量縮短電纜,幷適當選擇粗些的電纜。 2、裝變壓器,將電壓洞到規定的范圍。 3、檢查在控制盒中的電纜彩色編號和接頭標號并檢查接線 4、清理泵和污水池,參見安裝說明中的有關部分。 |
|
泵不能啟動,熔絲熔斷或斷路器跳開 |
1、浮球故障。 2、繞組、接頭或電纜斷路。 3、泵被堵塞 |
1、檢查使用旁路浮球幵關是否能啟動泵。如是,應檢查浮球幵關。 2、用歐姆表檢查。如果證明是路,檢查繞組,接線頭及電纜。 3、切斷電源,將泵移出污水池,清除障礙物復位前試用一下。 |
|
泵啟動不了,但熔絲沒斷或過載保護器不跳開 |
1、沒電。 2、繞組、電纜、接線頭或控制麁斷路。 |
1、檢查控制盒是否有電。 2、檢查電纜、電機的接頭和繞組。 |






