S型玻璃鋼離心泵使用注意事項
時間:2012-7-18 來源:揚子江泵業 瀏覽數:694
【S型玻璃鋼離心泵】產品簡介:
S型、FS型、SL型、SY型、WSY型、FSY型系列玻璃鋼泵,其接觸液體的過流部件均采用聚乙烯醇縮丁醛、改性酚醛玻璃纖維材料經高溫模壓而成,具有良好的耐腐蝕,耐溫性能高、重量輕、比強度高、不變形等。軸封采用普通型和耐顆粒型機封二種(液下泵不用機械密封)結構合理,消耗功率少。
【S型玻璃鋼離心泵】型號意義:
【S型玻璃鋼離心泵】性能范圍:
流量:3.2~50m3/h,揚程:12.5~32m,轉數:2900r/min,功率:0.75~7.5KW,口徑:25~80mm,使用溫度:<100℃
【S型玻璃鋼離心泵】選材依據:
普通鋼鐵、不銹鋼、鋁和鉛等裳用工程材料在鹽酸中腐蝕嚴重,都不適用。大多塑料對鹽酸都有優良的耐蝕性。一類塑料能耐一切濃度和沸點下的鹽酸,如酚醛、呋喃、聚三氟氯乙烯、聚四氟乙烯、聚全氟乙烯、聚偏二氟乙烯等。
酚醛樹脂(玻璃鋼)制品對非氧化性酸(鹽酸、稀硫酸、磷酸等)、鹽類溶液、水都有良好的耐蝕性,不耐堿和氧化性酸(硝酸、鉻酸等)的腐蝕。
【S型玻璃鋼離心泵】使用范圍:
S型玻璃鋼離心泵主要用于石化、冶煉、染料、印染、農藥、制藥、稀土、皮革等行業,輸送不含固體顆粒、不易結晶、溫度不高于100℃的各種非氧化性酸(鹽酸、稀硫酸、甲酸、醋酸、丁酸)等腐蝕介質必不可少的理想設備。
【S型玻璃鋼離心泵】性能參數:
|
型號 |
流量 Q m3/h |
揚程 H m |
轉速 n r/min |
效率 η % |
汽蝕余量 (NPSH)r m |
電機功率 N kW |
|
S25×25-12.5 |
3.2 |
12.5 |
2900 |
41 |
3 |
0.55/0.75 |
|
S40×32-20 |
6.3 |
20 |
2900 |
50 |
3 |
1.1/1.5 |
|
S40×32-32 |
6.3 |
32 |
2900 |
45 |
3 |
2.2/3 |
|
S50×40-20 |
12.5 |
20 |
2900 |
53 |
3 |
2.2/3 |
|
S50×32-32 |
12.5 |
32 |
2900 |
5l |
3 |
4.0/5.5 |
|
S65×50-20 |
25 |
20 |
2900 |
64 |
3 |
3.0/4 |
|
S65×50-25 |
25 |
25 |
2900 |
6l |
3 |
3.0/4 |
|
S65×50-32 |
25 |
32 |
2900 |
60 |
3 |
5.5/7.5 |
|
S80×65-32 |
50 |
32 |
2900 |
69 |
4 |
7.5/11 |
|
S100×80-50 |
100 |
50 |
2900 |
73 |
5 |
22/30 |
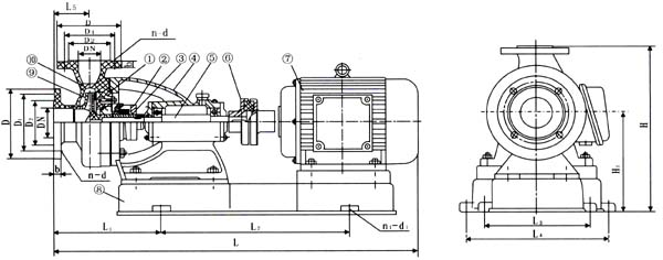
【S型玻璃鋼離心泵】結構圖及外形尺寸:
S25×25-12.5至S50×40-20外形尺寸
|
1 |
泵蓋 |
|
|
2 |
聯接架 |
|
|
3 |
機械密封 |
|
|
4 |
軸套 |
|
|
5 |
軸 |
|
|
6 |
電機 |
|
|
7 |
底座 |
|
|
8 |
泵體 |
|
|
9 |
葉輪 |
|
|
10 |
密封壓蓋 |
|
型 號 |
吸 入 口 |
排 出 口 |
L |
1 |
L2 |
L3 |
L4 |
L5 |
L6 |
H |
Hl |
n2 |
n1 |
d1 |
||||||||||||
|
DN |
D |
D 1 |
D 2 |
b |
n |
d |
DN |
D |
D1 |
D2 |
b |
n |
d |
|||||||||||||
|
S25×25-12.5 |
25 |
115 |
85 |
65 |
16 |
4 |
14 |
25 |
115 |
85 |
65 |
16 |
4 |
14 |
437 |
180 |
180 |
140 |
150 |
244 |
60 |
200 |
94 |
23 |
4 |
14 |
|
S40×32-20 |
40 |
145 |
110 |
88 |
18 |
4 |
18 |
32 |
135 |
100 |
78 |
18 |
4 |
18 |
458 |
192 |
200 |
150 |
150 |
252 |
82 |
258 |
120 |
40 |
4 |
14 |
|
S40×32-32 |
40 |
145 |
110 |
88 |
18 |
4 |
18 |
32 |
138 |
100 |
78 |
18 |
4 |
18 |
540 |
230 |
240 |
160 |
155 |
262 |
85 |
315 |
145 |
55 |
4 |
18 |
|
S50×40-20 |
50 |
160 |
125 |
100 |
20 |
4 |
18 |
40 |
145 |
110 |
88 |
19 |
4 |
19 |
535 |
226 |
240 |
160 |
155 |
262 |
100 |
295 |
145 |
55 |
4 |
18 |
S50×32-32至S100×80-50外形尺寸
|
1 |
泵蓋 |
|
|
2 |
機械密封 |
|
|
3 |
軸套 |
|
|
4 |
聯結架 |
|
|
5 |
軸 |
|
|
6 |
聯軸器 |
|
|
7 |
電機 |
|
|
8 |
底座 |
|
|
9 |
葉輪 |
|
|
10 |
泵體 |
|
型號 |
吸 入 口 |
排 出 口 |
L |
L1 |
L2 |
L3 |
L4 |
L5 |
H |
H1 |
n1 |
d1 |
電機功率KW |
||||||||||||
|
DN |
D |
D1 |
D2 |
b |
n |
d |
DN |
D |
Dl |
D2 |
b |
n |
d |
||||||||||||
|
S50×32-32 |
50 |
160 |
125 |
100 |
18 |
4 |
18 |
32 |
135 |
100 |
75 |
18 |
4 |
18 |
945 |
319 |
420 |
310 |
370 |
80 |
435 |
250 |
4 |
24 |
4 |
|
S65×50-20 |
65 |
180 |
145 |
120 |
21.5 |
4 |
18 |
50 |
160 |
125 |
100 |
21.5 |
4 |
18 |
830 |
250 |
420 |
250 |
320 |
90 |
360 |
210 |
4 |
18.5 |
3 |
|
S65×50-32 |
65 |
185 |
1 45 |
122 |
22 |
4 |
18 |
50 |
165 |
125 |
102 |
22 |
4 |
18 |
1020 |
345 |
420 |
310 |
370 |
90 |
430 |
250 |
4 |
24 |
5.5 |
|
S80×65-32 |
80 |
195 |
160 |
135 |
23.5 |
4 |
18 |
65 |
180 |
145 |
120 |
21.5 |
4 |
18 |
1022 |
370 |
520 |
310 |
410 |
100 |
450 |
250 |
4 |
24 |
7.5 |
|
S80×65-32 |
80 |
195 |
160 |
135 |
23.5 |
4 |
18 |
65 |
180 |
145 |
12C |
21.5 |
4 |
18 |
1150 |
370 |
520 |
310 |
410 |
100 |
480 |
250 |
4 |
24 |
1l |
|
S100×80-50 |
1OO |
215 |
180 |
158 |
24 |
8 |
18 |
80 |
195 |
160 |
138 |
23.5 |
4 |
18 |
1353 |
428 |
635 |
370 |
485 |
110 |
530 |
280 |
4 |
24 |
Y180L 22 |
|
1462 |
575 |
300 |
Y200L 30 |
||||||||||||||||||||||
【S型玻璃鋼離心泵】使用注意事項:
1、本泵在安裝前根據選定泵型,按外形及安裝尺寸做好地腳基礎,安裝時根據管路位置的要求,盡量使安裝的位置便利管理和維修。
2、安裝的位置如果高于液面,必須附裝灌液裝置。
3、泵起動前先將液體灌滿泵體后開車,嚴禁無介質運轉和倒轉,否則泵體內因缺泛液體冷卻而損壞機械密封。
4、停車時應關閉液管閥門,避免液體倒流。
5、維修時,先拆下泵體,再松開機械密封螺釘,拆下機械密封。
6、如果更換滾珠軸承或泵軸時,必須拆下機架,松開前端軸承蓋4只螺釘。拆下泵軸后端螺母和聯軸器,將泵軸向前端方向打出即可,再后拆下后端軸封蓋。
- 桐廬水電工程開發有限責任公司訂購一批變頻管道離心泵
- 淄博和易精細化工有限公司訂購一批YW雙管帶方盤液下排污泵
- 袁隆平國家雜交水稻工程技術研究中心合作單位湖北移栽靈農業科技股份公司訂購一批自吸排污泵和液下排污泵
- F46氟合金化工泵強酸強堿鹽酸強氧化劑輸送泵結構圖與材料
- 中國航天科技集團公司子公司蘭州華宇航天技術應用有限責任公司訂購一批SK型水環式真空泵
- 三一汽車制造有限公司訂購揚子江泵業一批FY液下化工泵
- 杭州富春江冶煉有限公司度購一批W型316L水力噴射器
- 全國大的豆漿晶、豆腐花生產企業-廣西梧州冰泉實業股份有限公司采購一批W型水力噴射器
- 熱水循環泵在食品機械全自動雙層水浴式殺菌鍋中的作用
- 離心泵變頻調速節能原理分析及變頻調速控制系統設計







