LJYA耐磨耐腐蝕液下泵結構說明圖
時間:2014-12-29 來源:揚子江泵業 瀏覽數:1130
LJYA耐磨耐腐蝕液下泵結構說明

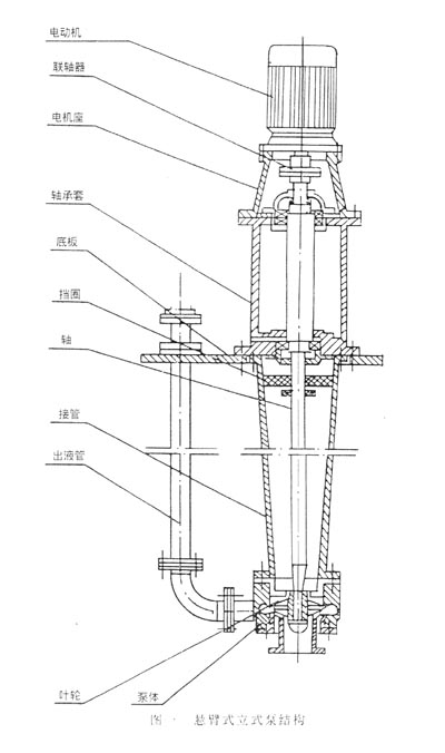
1 LJYA型化工泵主要零部件(見圖l)有泵體、葉輪、出液管、接管、軸、擋圈、底板、軸承套、電機座、聯軸器。
2泵的旋轉方向:從驅動端看按逆時針方向旋轉。
3泵的結構(圖1)特點是泵體通過接管與軸承套聯接,上下軸承即安置在軸承套內。在本系列泵中,軸承套壓蓋均為同一尺寸、同樣型號,以方便互換。因此泵軸在軸承段均有同樣尺寸。整個泵體通過軸承套和底板聯接,底板亦具有規格。適合我國目前中小型復肥生產工藝裝備要求,泵軸承采用鈣鈉基潤滑油潤滑、運行可靠,檢修泵葉輪時只需拆下前蓋,即可拿下葉輪;泵接管內裝有擋圈,軸上套有橡膠擋流圈,可以有效地防止液體濺入軸承內。
LJYA耐磨耐腐蝕液下泵使用說明
起動準備
1.1準備必要的工具
1.2檢查上下軸承油杯內潤滑脂是否適量。
1.3檢查電動機轉向,嚴禁反轉。
1.4用手盤動聯軸器,應感覺輕松且輕重均勻,并注意辨別泵內有無磨擦聲和異物滾動等雜音,如有則應排除。
1.5泵體必須淹沒在液下,不允許在進出口端裝管道,將泵體露出液面,否則抽不出液體。
1.6關閉出口壓力計及出管閥門、起動電機、開壓力表,再慢慢打開出口閥門到所需要的位置
2運行
2.1要經常檢查電機和泵內的升溫情況,軸承的溫升不應大于35℃,極限溫度不應大于75℃,在工況溫度較高的情況下,應選用水冷卻軸承套部件。
2.2注意油杯潤滑脂數量和質量,必要時用油槍進行加油一次。
2.3在運行中,發現有不正常聲音或振動時,應立即停車檢查,待排除故障后才能繼續運轉。
3停車
3.1先關閉壓力表及出液管閥門,再停止電機運行。
3.2長時間停止使用的泵,要吊出槽體,以兌料漿結垢填塞流道。
LJYA耐磨耐腐蝕液下泵安裝與拆卸
1泵的拆卸順序
1.1松開底板與槽體聯接螺栓,將整個泵連同底板與槽體聯接螺栓,將整個泵連同底板與電機吊出地下槽,平放于裝配場地。
1.2拆除出液管和電機及電機座。
1.3拆下前泵蓋,擰松螺母拆下葉輪。
1.4拆下蝸殼、后蓋及接管。
1.5擰松軸承盒與軸承套的聯接螺栓,用木塊墊住下端,輕捶木塊可將軸連同軸承盒抽出軸承套,此時下軸承仍留在軸承套內。
1.6拆下上軸端聯軸器,拆下上軸承壓蓋,擰下壓緊螺母后即可拆下軸承盒及軸承,泵的裝配順序基本上可按照拆卸順序的反向進行,但裝配時要注意下泵蓋與泵葉片的間隙(開式葉輪)一般應得保證此間隙為0.3~0.5毫米,過大的間隙會影響揚程和效率.更換葉輪軸頭處墊片厚度和下泵蓋與蝸殼結合面處的墊片厚度可以調整間隙大。
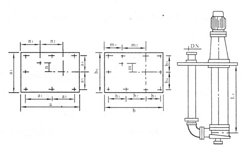
LJYA耐磨耐腐蝕液下泵安裝尺寸

LJYA耐磨耐腐蝕液下泵安裝尺寸表
|
型號
|
DN
|
L
|
a
|
A1
|
A2
|
A3
|
A4
|
a5
|
n
|
nl
|
N2
|
法蘭標準
|
|
|
7LJYA30
|
40
|
≤l600
|
580
|
260
|
260
|
220
|
220
|
500
|
10l
|
110
|
231
|
Pg6kg/cm2Dg40
|
|
|
10LJYAl8
|
40
|
≤l600
|
650
|
295
|
295
|
220
|
220
|
500
|
96.2
|
110
|
287
|
Pg6kg/cm2Dg50
|
|
|
15LJYAl8
|
40
|
≤l600
|
650
|
295
|
295
|
220
|
220
|
500
|
96.2
|
110
|
287
|
Pg6kg/cm2Dg50
|
|
|
30LJYA30
|
50
|
≤1600
|
690
|
315
|
315
|
230
|
230
|
520
|
96
|
135
|
295
|
Pg6kg/cm2Dg65
|
|
|
20LJYA25
|
50
|
≤l600
|
690
|
315
|
315
|
230
|
230
|
520
|
158
|
137
|
303
|
Pg6kg/cm2Dg65
|
|
|
27LJYA20
|
50
|
≤1600
|
690
|
315
|
315
|
230
|
230
|
520
|
96
|
135
|
295
|
Pg6kg/cm2Dg65
|
|
|
54LJYA20
|
80
|
≤1600
|
110C
|
520
|
520
|
370
|
370
|
800
|
100
|
225
|
500
|
Pg6kg/cm2Dg80
|
|
|
15LJYA30
|
50
|
≤l600
|
580
|
260
|
260
|
220
|
220
|
500
|
10l
|
110
|
231
|
Pg6kg/cm2Dg65
|
|
|
|
|||||||||||||
|
型號
|
DN
|
L1
|
b
|
B1
|
B2
|
B3
|
B4
|
B5
|
B6
|
m
|
m1
|
M2
|
法蘭標準
|
|
45LJYA20
|
80
|
≤l600
|
940
|
294
|
294
|
294
|
326
|
326
|
710
|
168
|
158
|
482
|
Pg6kg/cm2Dg80
|
|
60LJYA20
|
80
|
≤1600
|
940
|
294
|
294
|
294
|
326
|
326
|
710
|
180
|
182
|
400
|
Pg6kg/cm2Dg80
|
|
110LJYA25
|
80
|
≤l600
|
940
|
294
|
294
|
294
|
326
|
326
|
710
|
180
|
165
|
462
|
Pg6kg/cm2Dg80
|
LJYA耐磨耐腐蝕液下泵安裝說明
- 下一篇:FY耐腐蝕液下泵安裝尺寸
- 上一篇:IHY型節能耐腐蝕不銹鋼液下泵結構圖





